EasyManua.ls Logo

Sharp XE-A113 - Entrées Répétées

Sharp XE-A113
404 pages
Print Icon
To Next Page IconTo Next Page
To Next Page IconTo Next Page
To Previous Page IconTo Previous Page
To Previous Page IconTo Previous Page
Loading...
34
2. Entrées de PLU/rayons auxiliaires
Pour une classification dautres marchandises, la caisse enregistreuse permet un maximum de 200 PLU/rayons
auxiliaires. Les PLU sont utilisés pour appeler des prix préréglés par lentrée dun code. Les rayons auxiliaires
sont utilisés pour classer les marchandises en groupes plus petits sous les rayons. Chaque PLU et rayon
auxiliaires a un code allant de 1 à 200 et doit relever dun rayon pour obtenir lattribut de ce rayon.
Implicitement, ces 200 codes sont réglés sur le mode PLU et sur zéro pour un prix unitaire.
Entrées de PLU
Entrées de rayons auxiliaires (PLU disponibles)
* Moins que les montants de limitation
supérieure programmés.
Lorsquun zéro est introduit, seule la
quantité des ventes est ajoutée.
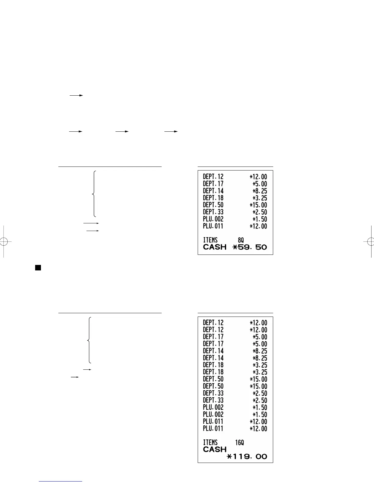
Entrées répétées
Vous pouvez utiliser cette fonction pour introduire la vente de deux ou davantage articles semblables. Appuyez
de manière consécutive sur la touche dun rayon, la touche
d
ou la touche
p
, comme il est montré sur
lexemple de manipulation des touches ci-dessous.
1200 ( (
500 D ! !
) )
D
" "
50 d 1500 d d
33 d d
2 p p
11 p 1200 p p
A
Entrée du
rayon auxiliaire
Entrée du PLU
Entrée du rayon
Impression du reçu
Exemple de manipulation des touches
1200 (
500 D !
)
D
"
50 d 1500 d
33 d
2 p
11 p 1200 p
A
Entrée du rayon
auxiliaire
Entrée du PLU
Entrée du rayon
Impression du reçu
Exemple de manipulation des touches
Code du PLU
Prix unitaire *
(8 chiffres max.)
p p
Code du PLU
p
A113_2(Fr) 06.9.11 6:57 PM Page 34

Table of Contents

Other manuals for Sharp XE-A113

Related product manuals