EasyManua.ls Logo

Sharp XE-A113 - Page 263

Sharp XE-A113
404 pages
Print Icon
To Next Page IconTo Next Page
To Next Page IconTo Next Page
To Previous Page IconTo Previous Page
To Previous Page IconTo Previous Page
Loading...
21
Parte1
GUIA DE INICIO RAPIDO
Parte2 Parte3
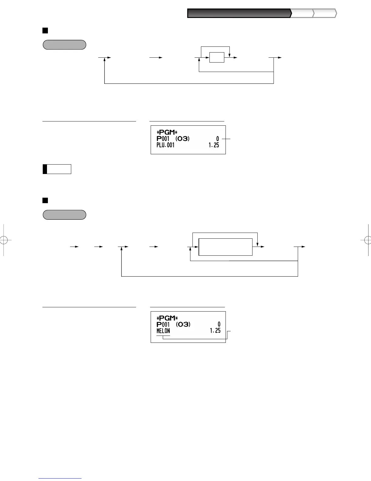
Selección de PLU/subsección
*: 0 para la subsección o 1 para PLU
Cuando programe el código final de PLU, la secuencia de programación se completará con una
pulsación de la tecla
s
.
Texto de PLU (etiqueta de artículo) (12 dígitos)
Texto
programado para
el código de PLU 1
s
2
P
1
p
MELON
s
A
(Programación de MELON para la
PLU 1)
ImpresiónEjemplo de operación de teclas
s P2 p
Código
de PLU
Cuando el siguiente código de PLU sigue
inmediatamente al que se acaba de introducir
Teclas de caracteres
(máx. 12 dígitos)
As
Para mantener el ajuste vigente
Para programar otra PLU
Procedimiento
Nota
PLU/subsección
1
p
0
sA
ImpresiónEjemplo de operación de teclas
Código de PLU
p
Para programar 0
Para programar el código de PLU siguiente
Para programar otro código de PLU
As
*A
Procedimiento
A113_1(Sp) 06.9.11 7:08 PM Page 21

Table of Contents

Other manuals for Sharp XE-A113

Related product manuals