EasyManua.ls Logo

Silvus StreamCaster MIMO - SC3500;SC3800 Enclosure Mounting Patterns

Silvus StreamCaster MIMO
69 pages
Print Icon
To Next Page IconTo Next Page
To Next Page IconTo Next Page
To Previous Page IconTo Previous Page
To Previous Page IconTo Previous Page
Loading...
StreamCaster MIMO Radio User Manual 3/17/15
10017C000 Silvus Technologies Confidential Page
22
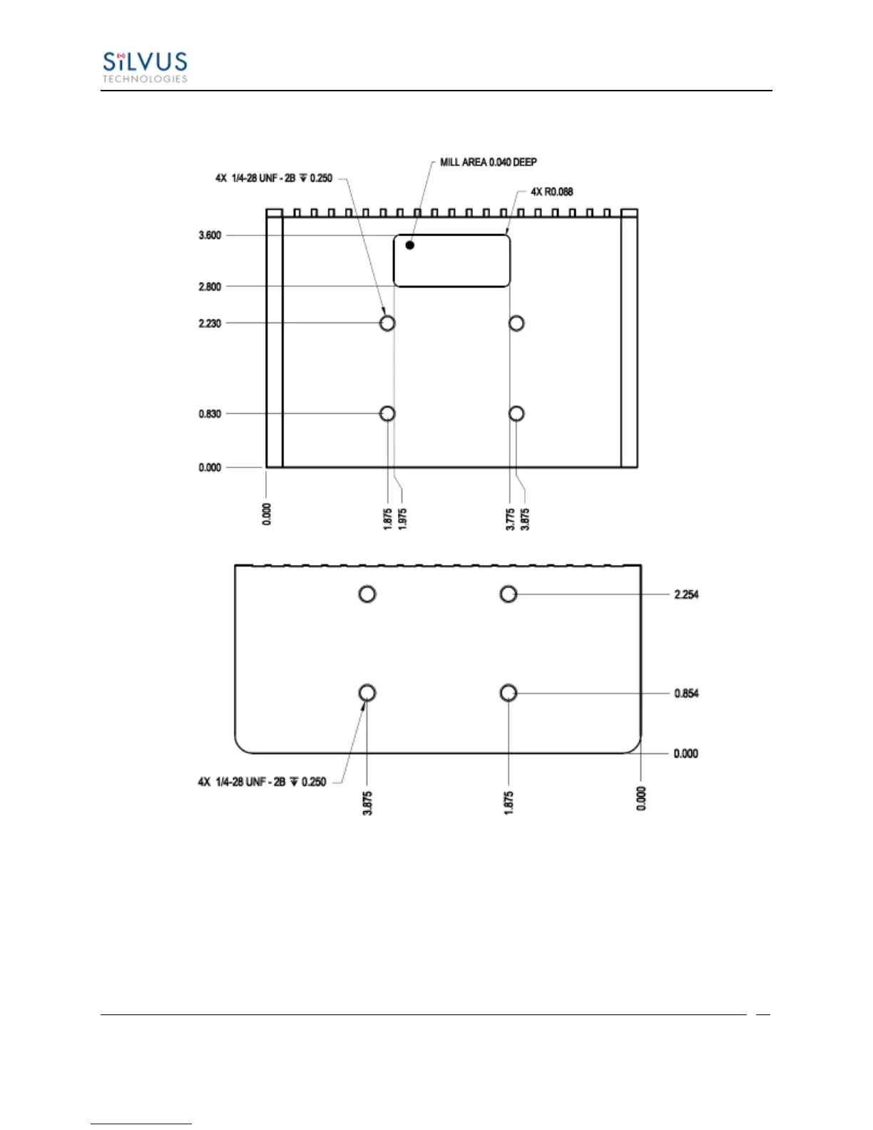
4.2.2 SC3500/SC3800 Phase II Enclosure Mounting Pattern
Figure 9 SC3500/SC3800 Phase II Enclosure Mounting Pattern for Back of Enclosure (top) and Bottom of Enclosure
(bottom)

Table of Contents

Related product manuals