EasyManua.ls Logo

SMA SI 5048 - Page 95

SMA SI 5048
212 pages
Print Icon
To Next Page IconTo Next Page
To Next Page IconTo Next Page
To Previous Page IconTo Previous Page
To Previous Page IconTo Previous Page
Loading...
SMA Solar Technology AG Battery management
Technical Description SI5048-TEN093630 95
In this phase, the battery voltage is maintained at a constant level, resulting in a continually decreasing
battery current. The Sunny Island remains in this phase for a defined period of time
("222.02 — 222.03", AptTmBoost or AptTmFul or AptTmEqu" parameters). For this charging phase,
the Sunny Island automatically selects one of three possible charging methods (boost, full, equalizing)
which are described in detail in sections 13.4.1”Boost Charge” (page96) to 13.4.3”Equalization
Charge (page97). The remaining charging time (display value "120.04 AptTmRmg") of this phase
and the current process (display value "120.05 BatChrgOp") can be read on the display.
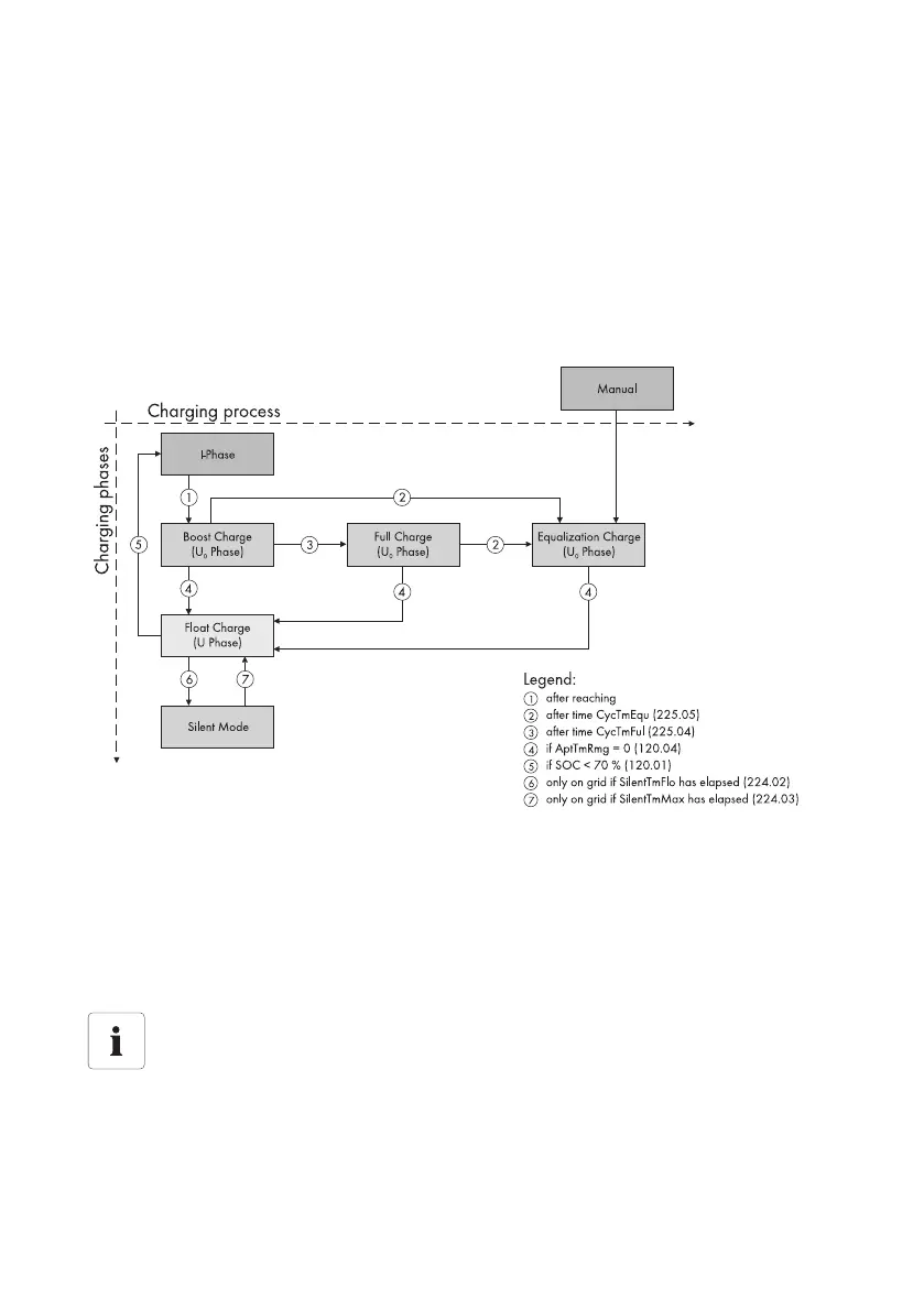
The following figure shows the relationship and the process diagram of the charging phases and
charging processes.
Once this constant voltage phase is finished, the Sunny Island switches to float charge which again
carries out constant voltage charging but at a greatly reduced charging voltage
("222.10 ChrgVtgFlo" parameter). The purpose of the float charge is to keep the battery in a fully
charged state without causing premature aging through overcharging. The Sunny Island remains in
this phase until either more than 30 % of the nominal capacity has been used (all discharges are
added up) or the state of charge is below 70 %. When the Sunny Island is operating on the
public grid, it can also switch from the float charge into silent mode.
Changing the charging voltage
The charging voltage does not rapidly change, but is slowly adjusted to the new nominal
value by approx. 0.5 mV/cell*s as the constant voltage phase changes to the float charge.
This also takes place if the nominal value is changed manually.

Table of Contents

Related product manuals