EasyManua.ls Logo

Sterling 360 - Storage Compartments

Sterling 360
213 pages
Print Icon
To Next Page IconTo Next Page
To Next Page IconTo Next Page
To Previous Page IconTo Previous Page
To Previous Page IconTo Previous Page
Loading...
9-5
CAUTION
Fuses, relays, and other electrical items are
located below the glove compartment and
parcel tray . Do not splash liquid on the
glove compartment and parcel tray, and do
not put wet objects in them.
Do not use the center console and parcel
tray to hold items that might roll while the
vehicle is moving. Rolling items could dam-
age the cab interior.
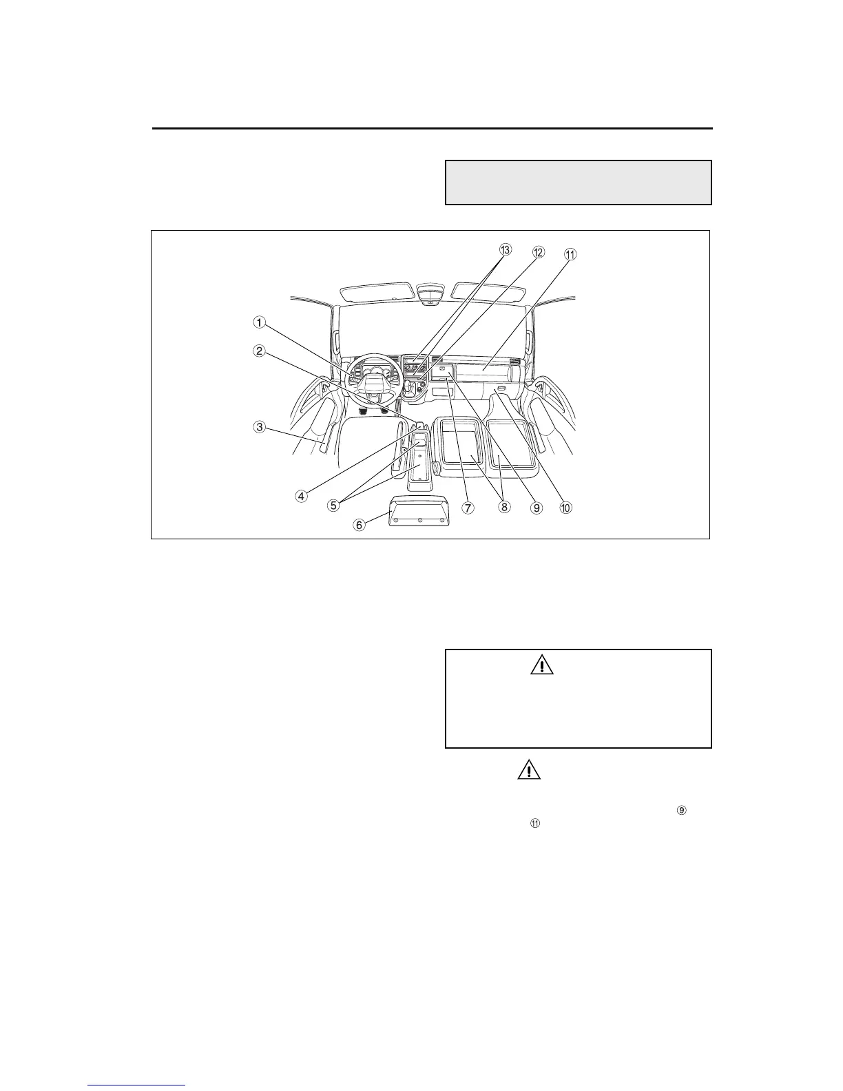
Storage compartments
WARNING
Always close the storage compartments
before operating the vehicle.
Open storage compartment covers could
cause an injury in the event of a collision or
sudden stop.
Z14919
1. Accessory box
2. Hook
3. Door pocket
4. Bottle holder
5. Center console
6. Rear panel box
7. Cup holder
8. Seatback trays
9. Glove compartment
10. Map compartment
11. Parcel tray
12. Card holder
13. Appliance cases

Table of Contents