EasyManua.ls Logo

Sterling 360 - Warming up the Engine

Sterling 360
213 pages
Print Icon
To Next Page IconTo Next Page
To Next Page IconTo Next Page
To Previous Page IconTo Previous Page
To Previous Page IconTo Previous Page
Loading...
5-10 Switches and controls
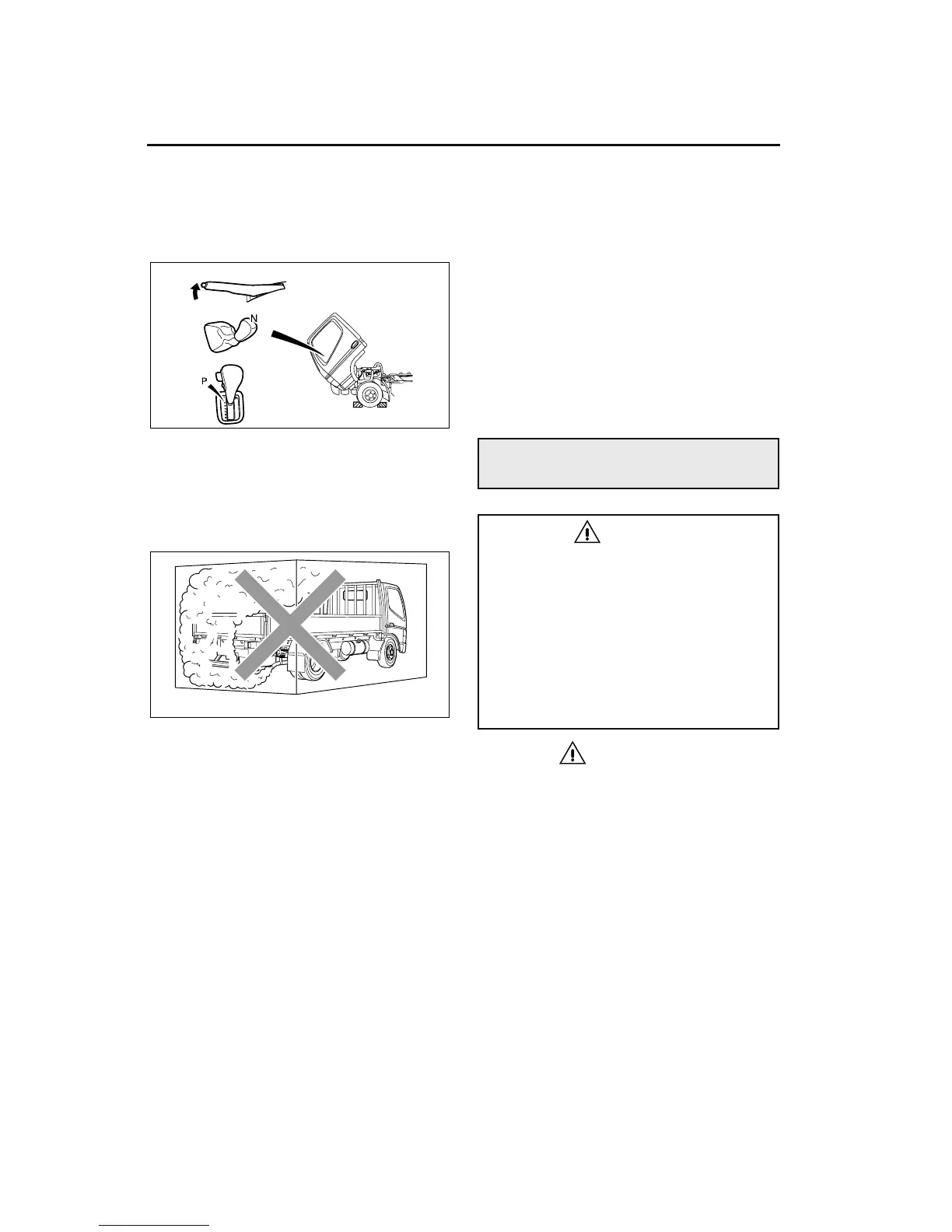
4 Starting the engine with the cab tilted
When you need to start the engine with the cab
tilted for inspection or servicing purposes, be sure
to observe the following safety precautions:
Set the parking brake firmly and chock the
wheels.
With a manual transmission vehicle, make sure
that the gearshift lever is in the neutral position.
With an automatic transmission vehicle, make
sure that the shift selector is in “P” (park).
Make sure nobody is near the engine compart-
ment, then place the ignition switch in the
“START” position to start the engine.
CAUTION
Racing the engine immediately after it has
started causes excessive wear of cylinders and
pistons and leads to engine malfunction. Using
the following procedures, warm up the engine to
normal operating temperature before attempting
full-load operation.
If you smell exhaust gases inside the cab, inspect
the exhaust pipe and check whether exhaust gases
are leaking through holes or cracks caused by cor-
rosion or damage. If exhaust gases are leaking,
have the exhaust pipe inspected by an authorized
Sterling service facility.
If exhaust gases that have leaked from the exhaust
pipe come into the cab, ventilate the cab with fresh
air by opening the windows fully or by opening the
doors. Be sure to bring the vehicle to an authorized
Sterling service agency for inspection and repairs.
Warming up the engine
WARNING
Do not warm up the engine in a garage or
other closed area. When starting the
engine or entering or leaving a garage, do
not run the engine for longer than is nec-
essary. Diesel exhaust will replace the air
in an enclosed area, possibly resulting in
unconsciousness or death.
Make sure that there is no flammable
material under or behind the parked vehi-
cle; in particular, close to the exhaust pipe.
A fire could be started by the heat from the
engine or exhaust pipe.
Z11846
Z11944

Table of Contents