EasyManua.ls Logo

Sterling 360 - Engine Oil

Sterling 360
213 pages
Print Icon
To Next Page IconTo Next Page
To Next Page IconTo Next Page
To Previous Page IconTo Previous Page
To Previous Page IconTo Previous Page
Loading...
10-2 In cold weather
When vehicles are shipped from the factory,
long-life diesel coolant is added to the vehicle
cooling system.
This coolant contains corrosion-inhibiting anti-
freeze to protect the cooling system. For added
safety, have an authorized Sterling service facil-
ity check that the coolant mixing ratio is correct
before the onset of winter.
Be sure to use fully-formulated antifreeze with
corrosion inhibitors and add it in the correct mix-
ing ratio. P. 11-33
CAUTION
Never mix brands of antifreeze or anti-corrosion
additives. This can cause the coolant to perform
poorly. If a different coolant additive has been
used, be sure to thoroughly flush the cooling
system before adding a new brand of coolant.
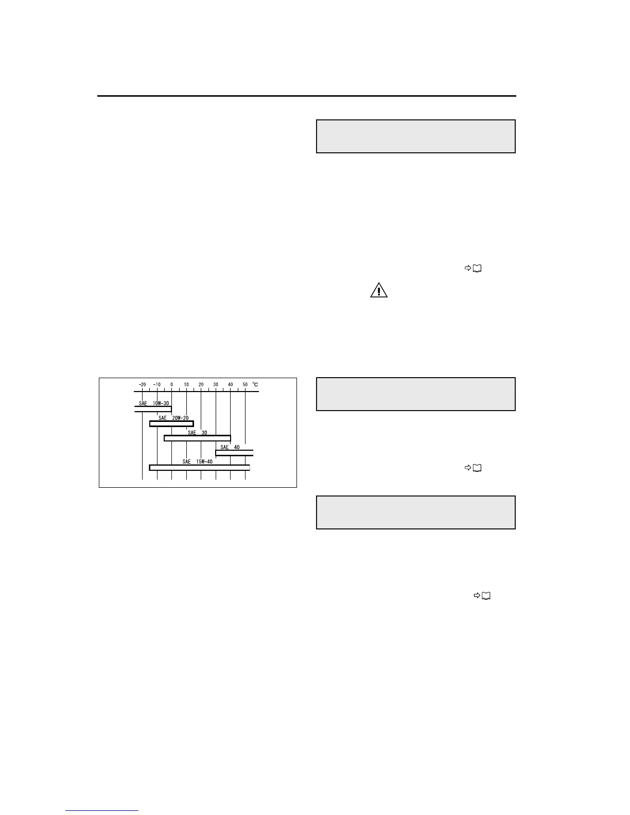
At low temperatures, the viscosity of engine oil
increases. This can make it hard to start the engine,
especially early in the morning. Therefore, choose
engine oil with a viscosity that is appropriate for the
weather conditions. P. 11-17
Ordinary summer-grade (2-D) diesel fuel reaches
its cloud point in freezing weather, making it impos-
sible to start the engine.
If you are heading to a cold-weather area, fuel your
vehicle with 1-D or winterized 2-D diesel fuel as
soon as possible. P. 1-5
NOTE:
Fuel cloud point is the temperature at which wax
crystals become visible, which is generally above
the pour point of the fuel. To keep the fuel filter ele-
ments from plugging with wax crystals, the cloud
point must be lower than the lowest starting temper-
ature the engine will face.
Coolant
Engine oil
Fuels
Z10758

Table of Contents