EasyManua.ls Logo

Stratus SAE-C10C - Main Column Safety Lock Assembly

Stratus SAE-C10C
36 pages
Print Icon
To Next Page IconTo Next Page
To Next Page IconTo Next Page
To Previous Page IconTo Previous Page
To Previous Page IconTo Previous Page
Loading...
33
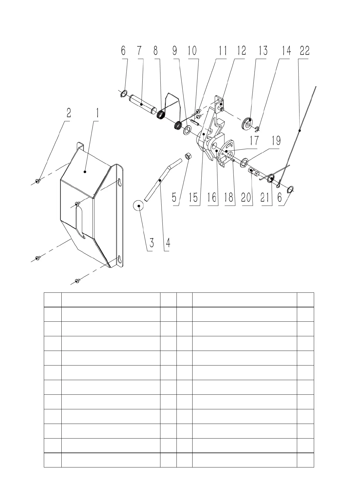
10.5 Main column safety lock assembly
No. Name Qty. No. Name Qty.
1
Safety lock coveropen
1 12 Lock release line base welding 1
2
Cross semicircle screw M6×8
4 13 Lock release nylon pulley 1
3 Lock release knob 1 14 Clamp spring Φ9 1
4 Lock release lever 1 15 Safety lock 1
5 Hex. Nut M10 1 16
Lock tongue basementcasng
2
6 Clamp spring Φ20 2 17 Lock release handle basement 1
7 Safety lock pin 1 18
Jackscrew M6×10
1
8 U shape spring 1 19 Gasket Φ20 1
9 Gasket M20 1 20 Lock release basement 1
10 Hollow pin Φ6×30 1 21 Torsional spring 1
11
Cross semicircle M6×8
2 22 Lock release thin rope 1

Related product manuals