EasyManua.ls Logo

Stryker ENDOSCOPY Standard - 3-2-1 Offset Calibration

Stryker ENDOSCOPY Standard
44 pages
Print Icon
To Next Page IconTo Next Page
To Next Page IconTo Next Page
To Previous Page IconTo Previous Page
To Previous Page IconTo Previous Page
Loading...
US-14
DE
3 Service Menu
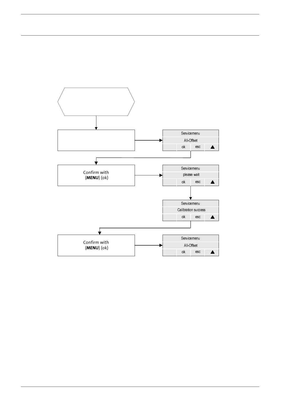
3-2-1 Offset Calibration
5HTXLUHPHQWV
r'HYLFHLQVHUYLFHPRGH
r*DVERWWOHFORVHG
r'HYLFHRXWSXWRSHQ
$IWHUHQWHULQJVHUYLFHFRGH
FRQILUPZLWK
0(18
RN
',63/$<
6HUYLFHPHQX
$OO2IIVHW
RN
HVF
6HUYLFHPHQX
SOHDVHZDLW
RN
HVF
6HUYLFHPHQX
&DOLEUDWLRQVXFFHVV
RN
HVF
&RQILUPZLWK

0(18
RN
6HUYLFHPHQX
$OO2IIVHW
RN
HVF
&RQILUPZLWK

0(18
RN

Related product manuals