EasyManua.ls Logo

Stryker ENDOSCOPY Standard - 3-2-7 Heater Calibration

Stryker ENDOSCOPY Standard
44 pages
Print Icon
To Next Page IconTo Next Page
To Next Page IconTo Next Page
To Previous Page IconTo Previous Page
To Previous Page IconTo Previous Page
Loading...
US-22
DE
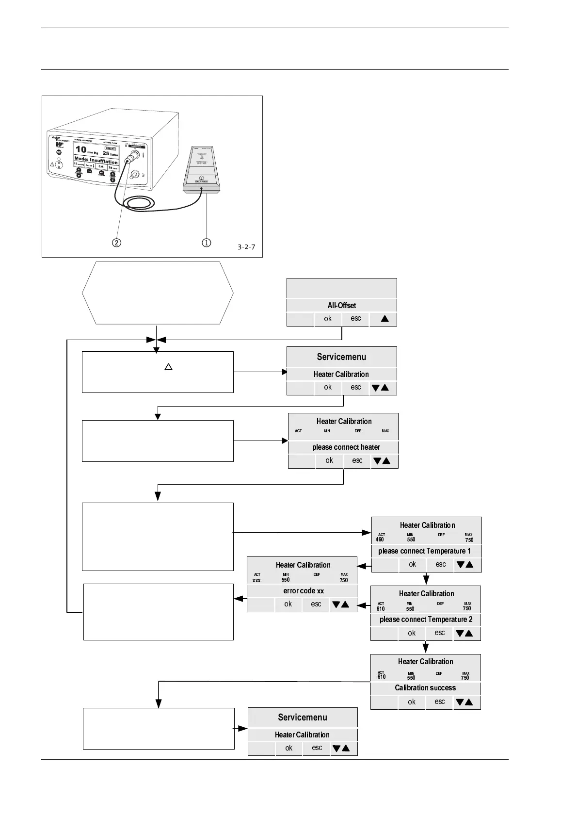
3-2-7 Heater Calibration
Fig. 3-2-7: Connection for Heater Calibration Box
1Heater Calibration Box T100/T101
2Connection for Heater Calibration Box
3 Service Menu
&RQILUPZLWK
0(18
5HTXLUHPHQWV
r*HU¾WLP6HUYLFHPRGH
r*DVERWWOHRSHQ
r&DOLEUDWLRQER[DFFRUGLQJ)LJ

3UHVV
XQWLOGLVSOD\RQOHIWDSSHDUV
',63/$<
r)ROORZ)LJWRFRQQHFWGHYLFH
ZLWKFDOLEUDWLRQER[
r$IWHUSURPSWHGE\GLVSOD\ILUVW
FRQQHFW7HPSDQGWKHQ7HPSWR
WKHFDOLEUDWLRQER[
&RQILUPZLWK
0(18
r$FNQRZOHGJHHUURUPHVVDJH
ZLWK
5(6(7

r&KHFNHUURUPHVVDJHDQGHOLPLQDWH
FDXVH
r5HVWDUW
6HUYLFHPHQX
$OO2IIVHW
RN
HVF
SOHDVHFRQQHFWKHDWHU
RN
HVF
$&7
0,1 '() 0$;
+HDWHU&DOLEUDWLRQ
RN
HVF
$&7
0,1 '() 0$;
+HDWHU&DOLEUDWLRQ
RN
HVF
$&7 0,1 '() 0$;
+HDWHU&DOLEUDWLRQ
HUURUFRGH[[
&DOLEUDWLRQVXFFHVV
RN
HVF
$&7
0,1 '() 0$;
+HDWHU&DOLEUDWLRQ
SOHDVHFRQQHFW7HPSHUDWXUH
RN
HVF
$&7 0,1 '() 0$;
+HDWHU&DOLEUDWLRQ
SOHDVHFRQQHFW7HPSHUDWXUH
 

 




[[[ 

6HUYLFHPHQX
+HDWHU&DOLEUDWLRQ
RN
HVF
6HUYLFHPHQX
+HDWHU&DOLEUDWLRQ
RN
HVF

Related product manuals