EasyManua.ls Logo

Stryker ENDOSCOPY Standard - 3-2-3 HIGH Pressure Calibration

Stryker ENDOSCOPY Standard
44 pages
Print Icon
To Next Page IconTo Next Page
To Next Page IconTo Next Page
To Previous Page IconTo Previous Page
To Previous Page IconTo Previous Page
Loading...
US-17
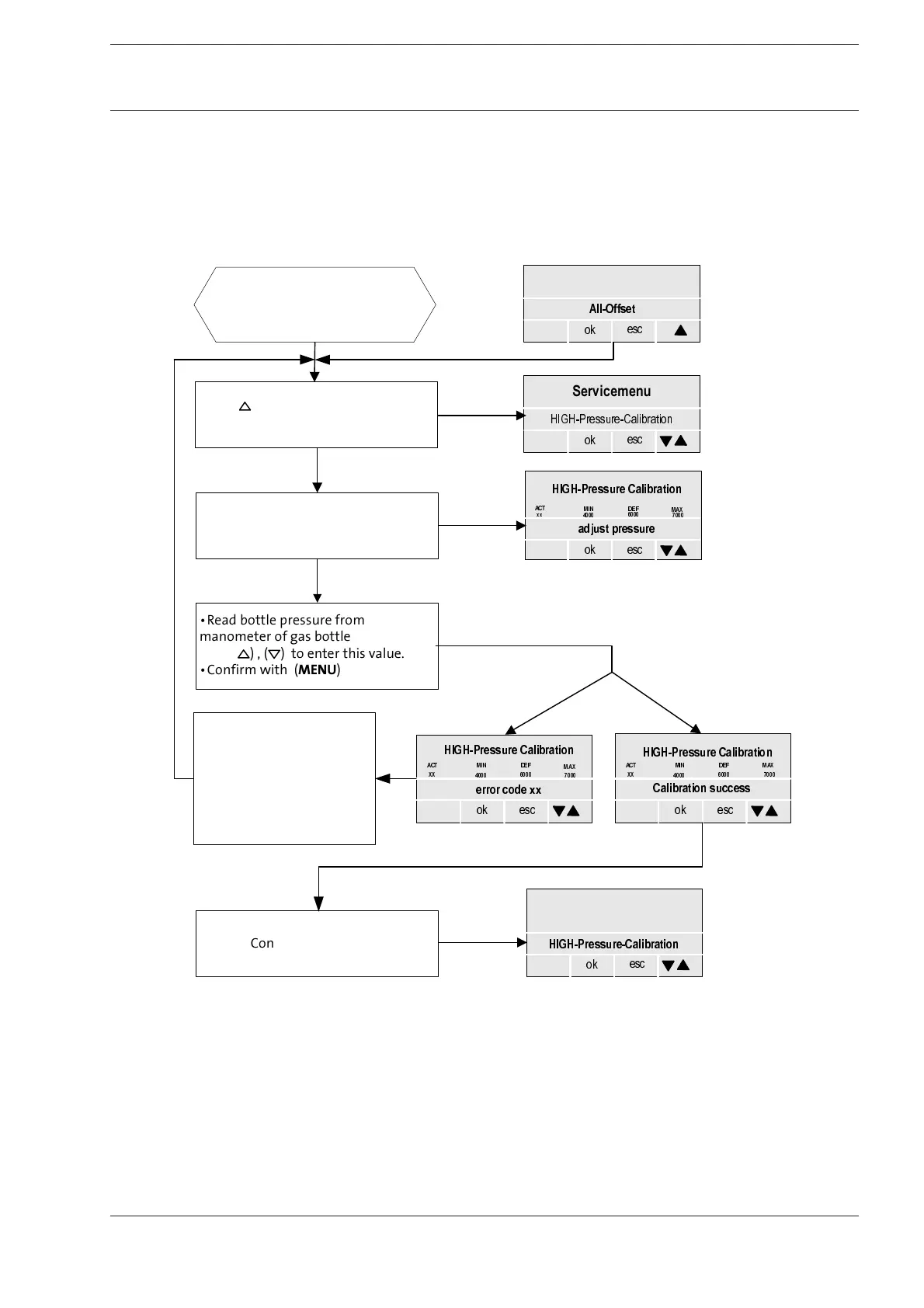
3-2-3 HIGH Pressure Calibration
3 Service Menu
&RQILUPZLWK
0(18

5HTXLUHPHQWV
r'HYLFHLQVHUYLFHPRGH
r*DVERWWOHZLWKPDQRPHWHU
r*DVERWWOHRSHQ
3UHVV
XQWLOGLVSOD\RQULJKWDSSHDUV
',63/$<
6HUYLFHPHQX
$OO2IIVHW
RN
HVF
+,*+3UHVVXUH&DOLEUDWLRQ
DGMXVWSUHVVXUH
RN
HVF
6HUYLFHPHQX
+,*+3UHVVXUH&DOLEUDWLRQ
RN
HVF
$&7
0,1 '()
0$;
[[



r5HDGERWWOHSUHVVXUHIURP
PDQRPHWHURIJDVERWWOH
r8VHWRHQWHUWKLVYDOXH
r&RQILUPZLWK
0(18
&RQILUPZLWK
0(18
r$FNQRZOHGJHHUURU
PHVVDJHZLWK
5(6(7

r&KHFNHUURUPHVVDJHDQG
FDXVH
r5HVWDUW
&DOLEUDWLRQVXFFHVV
RN
HVF
$&7 0,1 '() 0$;
;;



+,*+3UHVVXUH&DOLEUDWLRQ
HUURUFRGH[[
RN
HVF
$&7 0,1 '()
0$;
;;



+,*+3UHVVXUH&DOLEUDWLRQ
6HUYLFHPHQX
+,*+3UHVVXUH&DOLEUDWLRQ
RN
HVF

Related product manuals