EasyManua.ls Logo

Stryker ENDOSCOPY Standard - 3-2-812 H Test

Stryker ENDOSCOPY Standard
44 pages
Print Icon
To Next Page IconTo Next Page
To Next Page IconTo Next Page
To Previous Page IconTo Previous Page
To Previous Page IconTo Previous Page
Loading...
US-23
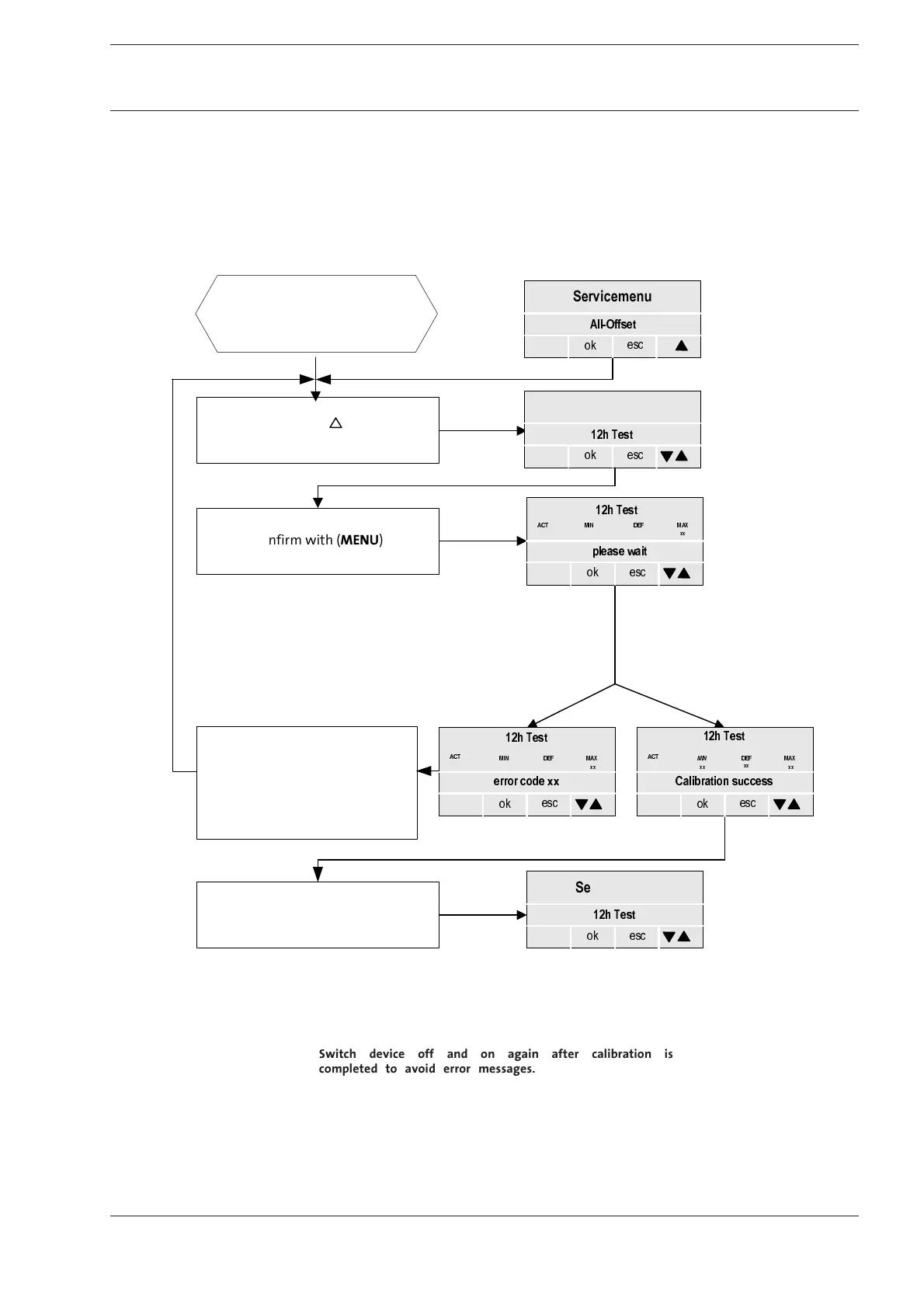
3-2-8 12h Test
3 Service Menu
Make sure device is continuously connected with live
wire during 12 hour test and is not operated or
used in any other capacity during this test.
5HTXLUHPHQWV
r'HYLFHLQVHUYLFHPRGH
r*DVERWWOHRSHQ
3UHVV
XQWLOGLVSOD\RQULJKWDSSHDUV
',63/$<
&RQILUPZLWK
0(18
r$FNQRZOHGJHHUURUPHVVDJH
ZLWK
5(6(7

r&KHFNHUURUPHVVDJHDQG
HOLPLQDWHFDXVH
r5HVWDUW
6HUYLFHPHQX
K7HVW
RN
HVF
6HUYLFHPHQX
$OO2IIVHW
RN
HVF
SOHDVHZDLW
RN
HVF
$&7
0,1 '() 0$;
[[
K7HVW
HUURUFRGH[[
RN
HVF
$&7
0,1 '() 0$;
[[
K7HVW
&DOLEUDWLRQVXFFHVV
RN
HVF
$&7
0,1
'() 0$;
[[
K7HVW
6HUYLFHPHQX
K7HVW
RN
HVF
[[
[[
&RQILUPZLWK
0(18
Switch device off and on again after calibration is
completed to avoid error messages.

Related product manuals