EasyManua.ls Logo

Stryker ENDOSCOPY Standard - Page 16

Stryker ENDOSCOPY Standard
44 pages
Print Icon
To Next Page IconTo Next Page
To Next Page IconTo Next Page
To Previous Page IconTo Previous Page
To Previous Page IconTo Previous Page
Loading...
US-16
DE
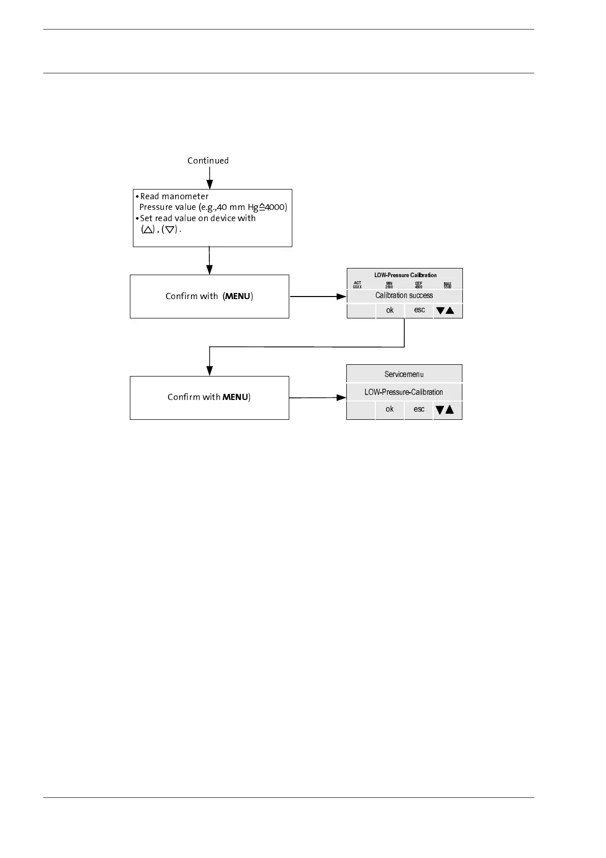
3-2-2 LOW-Pressure Calibration
3 Service Menu
&RQILUPZLWK
0(18
r5HDGPDQRPHWHU
3UHVVXUHYDOXHHJPP+J 
r6HWUHDGYDOXHRQGHYLFHZLWK

/2:3UHVVXUH&DOLEUDWLRQ
&DOLEUDWLRQVXFFHVV
RN
HVF
$&7
0,1 '()
0$;
;;;;



6HUYLFHPHQX
/2:3UHVVXUH&DOLEUDWLRQ
RN
HVF
&RQILUPZLWK
0(18
&RQWLQXHG

Related product manuals