EasyManua.ls Logo

Teknatool Nova 83700 - Drill Press Handle; Chuck and Arbor Assembly Attachment

Teknatool Nova 83700
48 pages
Print Icon
To Next Page IconTo Next Page
To Next Page IconTo Next Page
To Previous Page IconTo Previous Page
To Previous Page IconTo Previous Page
Loading...
5
123-0420-029
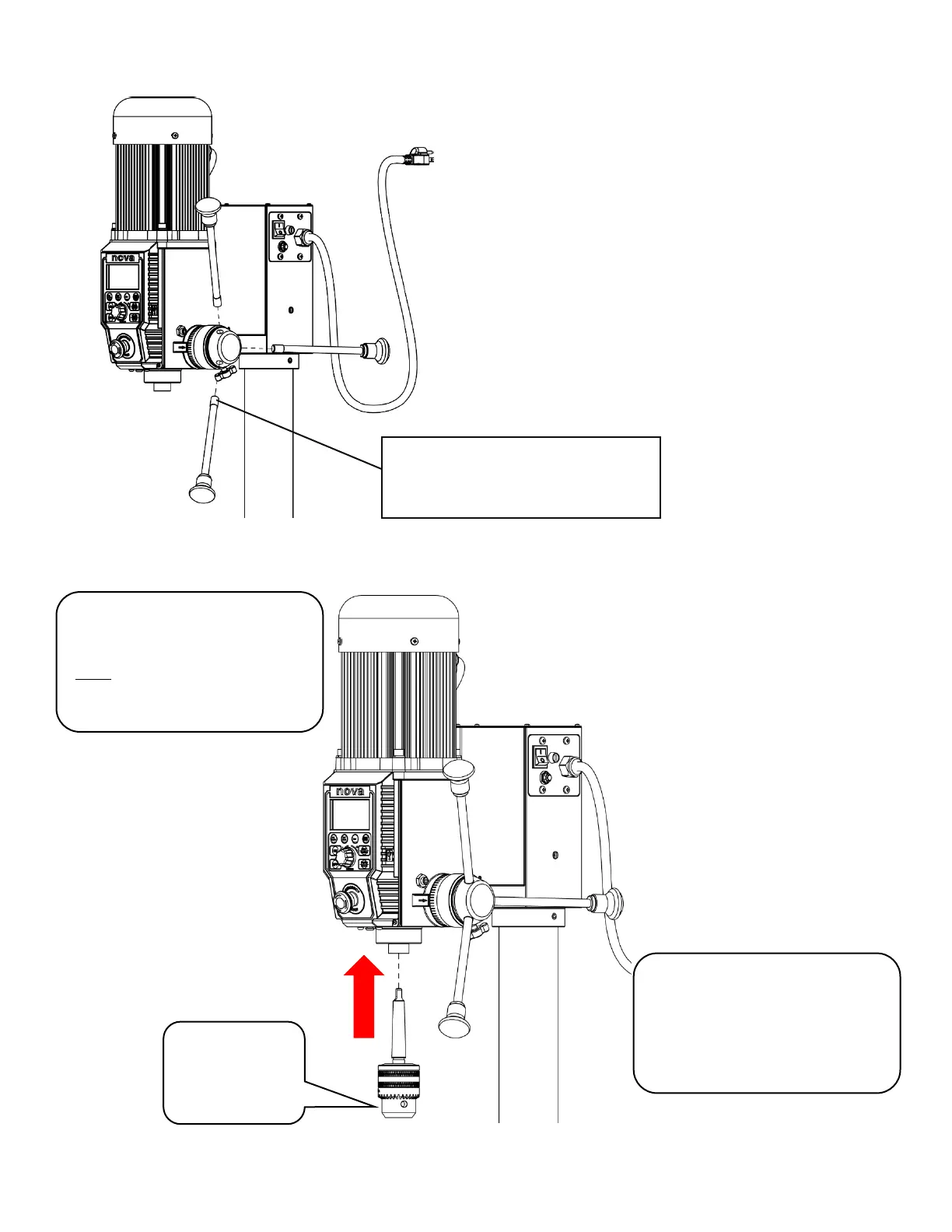
Drill Press Handle
Chuck and Arbor Assembly Attachment
Screw drill press handles into the drill
press pinion shaft
Insert the arbor into the drill press
quill.
Note:
Make sure the arbor tongue is
facing the correct direction.
If the arbor is installed correctly,
the arbor should stay in the drill
press quill.
Give the chuck a few sharp taps
with a rubber mallet
Few sharp taps
with a rubber
mallet

Table of Contents

Related product manuals