EasyManua.ls Logo

Telit Wireless Solutions ME310G1 - Power off

Telit Wireless Solutions ME310G1
95 pages
To Next Page IconTo Next Page
To Next Page IconTo Next Page
To Previous Page IconTo Previous Page
To Previous Page IconTo Previous Page
Loading...
ME310G1 Hardware Design Guide
1VV0301588 Rev. 16 Page 38 of 95 2021-10-27
Not Subject to NDA
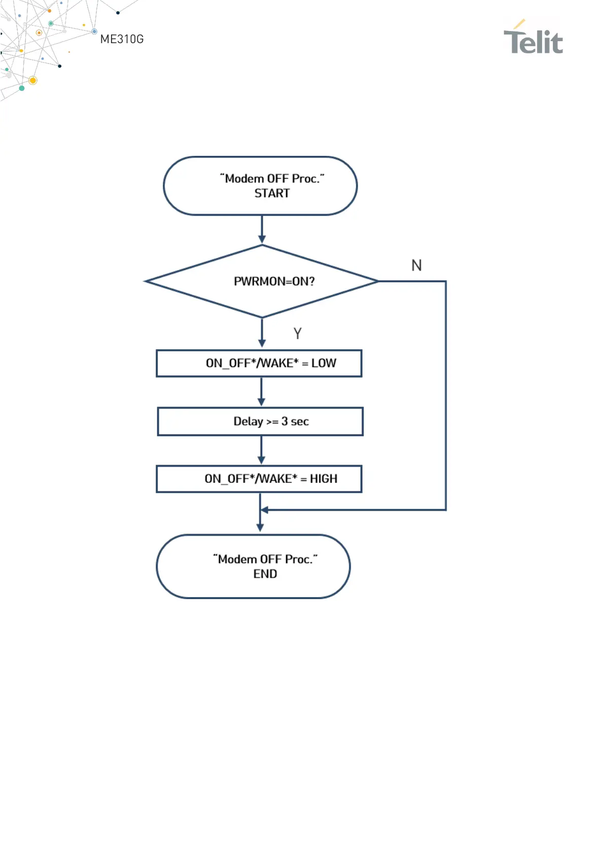
5.3 Power Off
The proper procedure to power off the module is to use the AT#SHDN command.
An alternative procedure is to use the ON_OFF* pin as described in the following
procedure:
Figure 7: Modem OFF Process flow chart

Table of Contents

Other manuals for Telit Wireless Solutions ME310G1

Related product manuals