EasyManua.ls Logo

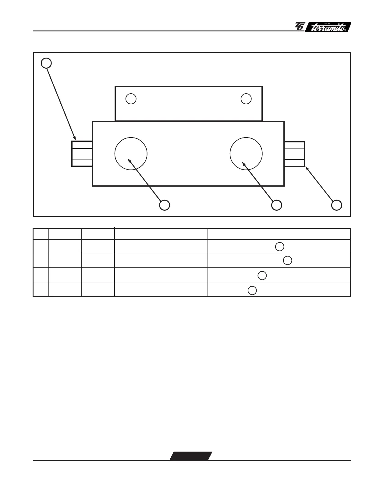
Terramite T6 - T6 Drive System Distributor Block

Default Icon
112 pages
Print Icon
To Next Page IconTo Next Page
To Next Page IconTo Next Page
To Previous Page IconTo Previous Page
To Previous Page IconTo Previous Page
Loading...
Copyright © 1999 Terramite Corporation
A 88100 8-8.100 Port A Oil Cooler - Return Line (SEE PAGE 3.7)
B 88658 8-6.58 Port B Steering Column - Port "T" (SEE PAGE 3.8)
C 88840 8-8.40 Port C R. Valve - Return (SEE PAGE 3.11)
D 81012 8-10.12 Port D Filter - Intake (SEE PAGE 3.12)
T6 Drive System Distributor Block
3.13
A
DCB
A
A
B
B
PART PREVIOUS
HOSE NUMBER PART NUMBER STARTING POINT ENDING POINT

Table of Contents