EasyManua.ls Logo

Toa M-9000 - Erasing Scene Memory

Toa M-9000
138 pages
Print Icon
To Next Page IconTo Next Page
To Next Page IconTo Next Page
To Previous Page IconTo Previous Page
To Previous Page IconTo Previous Page
Loading...
86
11.2. Erasing Scene Memory
SCENESETT I N
G
SAVE
SCENESETT I N
G
ERASE
––
––
ERASE 0
1
ERASE 0 3
ENTER
3
ENTER
5
MEMORY
1
4
PARAMETER
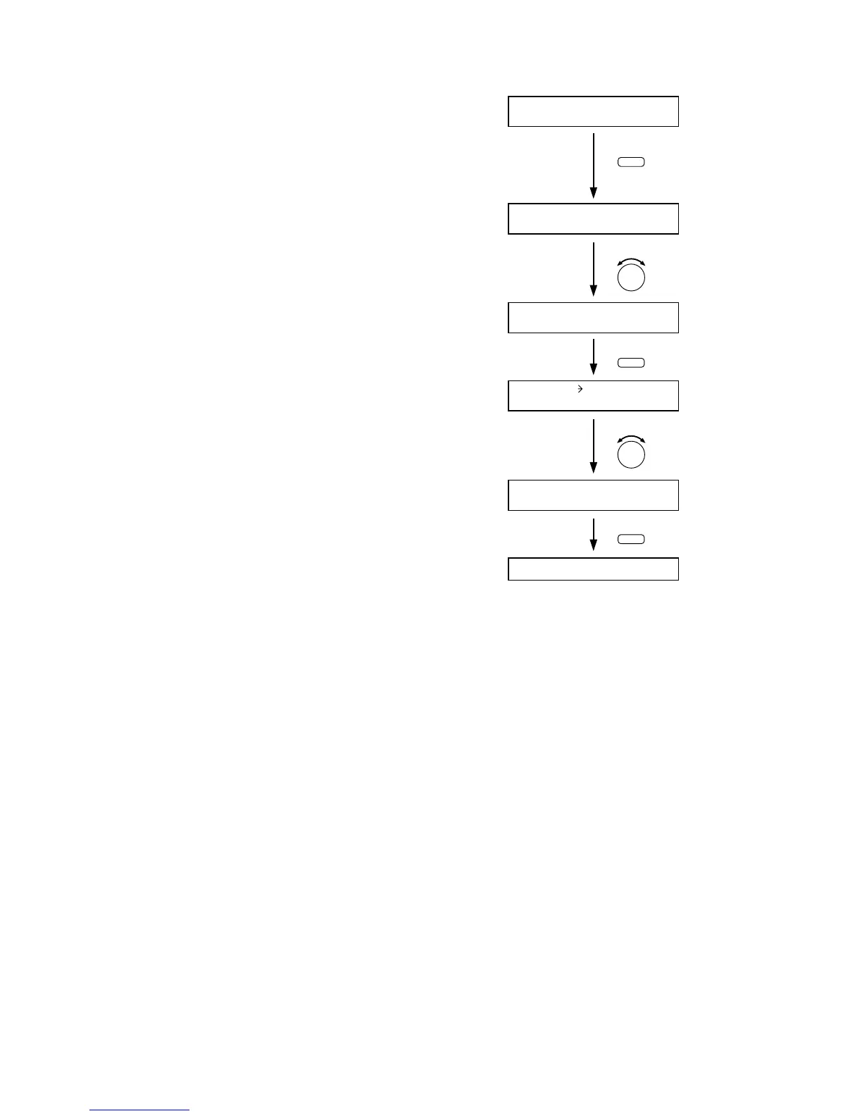
Press for over 2 seconds.
2
PARAMETER
Step 1. Hold down the Memory key for 2 seconds or more.
The Scene memory setting screen is displayed.
Step 2. Use the Parameter setting knob to display "ERASE"
indication.
Step 3. Press the Enter key to display the Scene memory
erasure screen.
Step 4. Select with the Parameter setting knob the Scene
memory bank number (01 32) to be erased.
Step 5. Press the Enter key to erase the setting data stored in
the designated memory bank number.
After erasure completion, the unit returns to the
normal use state.

Table of Contents

Other manuals for Toa M-9000

Related product manuals