EasyManua.ls Logo

TOS SUA 125 NUMERIC - Brake System Function and Location

TOS SUA 125 NUMERIC
118 pages
Print Icon
To Next Page IconTo Next Page
To Next Page IconTo Next Page
To Previous Page IconTo Previous Page
To Previous Page IconTo Previous Page
Loading...
SUA 125 NUMERIC
34200003 TOS a.s. 02/2011
43
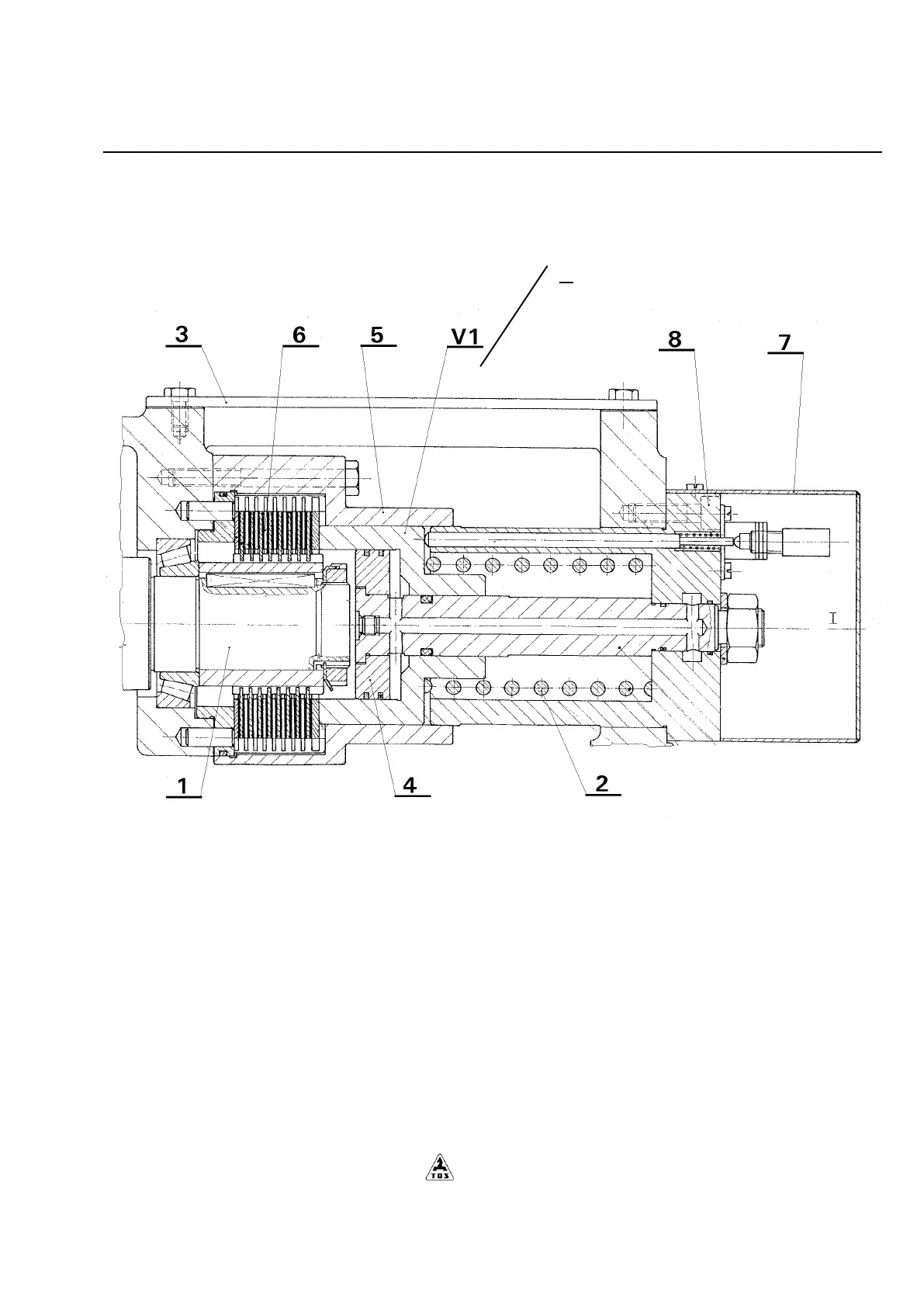
5.2.3. Brake. (Fig. 5.2)
Fig. 5.2
6

Table of Contents