EasyManua.ls Logo

TransCore encompass 4 - Figure 2 Tag and Reader Orientation

TransCore encompass 4
208 pages
Print Icon
To Next Page IconTo Next Page
To Next Page IconTo Next Page
To Previous Page IconTo Previous Page
To Previous Page IconTo Previous Page
Loading...
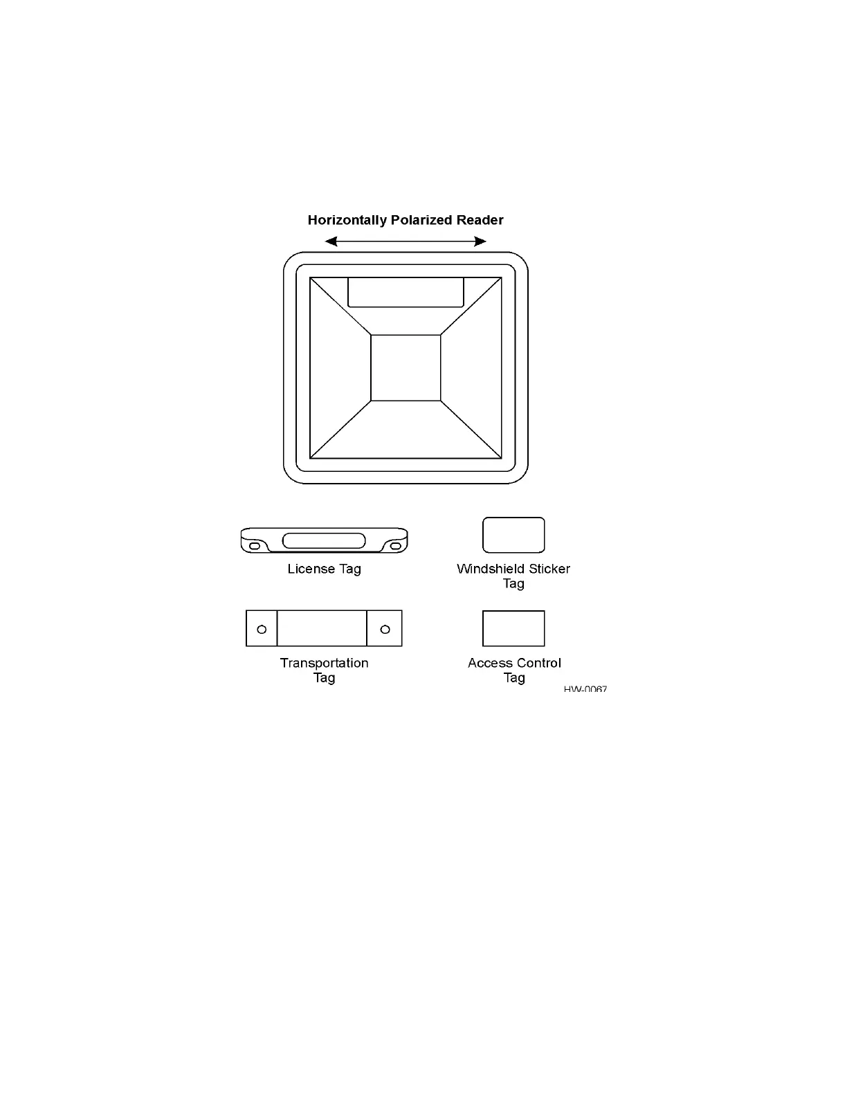
Polarization
The polarization of the tag must be aligned in the same direction as the Encompass
4 Reader, as shown in Figure 2.
Note: Matching the tag and antenna polarization is critical to obtain optimal system performance.
Unobstructed Line of Sight
For optimum readability, install the Encompass 4 Reader and the vehicle’s tag so that when the vehicle
approaches the Encompass 4 Reader, the tag is directly facing the reader and the line of sight is clear
between the Encompass 4 Reader and the tag. If a fence or barrier is between the tag and the reader,
the Encompass 4 Reader cannot reliably read the tags. Figure 3 illustrates possible installation locations
of an Encompass 4 Reader in relation to a tag’s mounting location on a vehicle. If the tags are not in the
recommended location, reliable optimum operation requires lower vehicle speeds.
Figure 2 Tag and Reader Orientation
Figure 3 Encompass 4 Reader Location Relative to Tag Position
Encompass 4 Reader System Guide
TransCore Proprietary.
2–6

Table of Contents

Other manuals for TransCore encompass 4