EasyManua.ls Logo

TransCore encompass 4 - Figure 47 Sample Circuit Connections; Figure 48 Sample Circuit Connections for IAG Installations

TransCore encompass 4
208 pages
Print Icon
To Next Page IconTo Next Page
To Next Page IconTo Next Page
To Previous Page IconTo Previous Page
To Previous Page IconTo Previous Page
Loading...
Encompass 4 Reader System Guide
TransCore Proprietary.
4-60
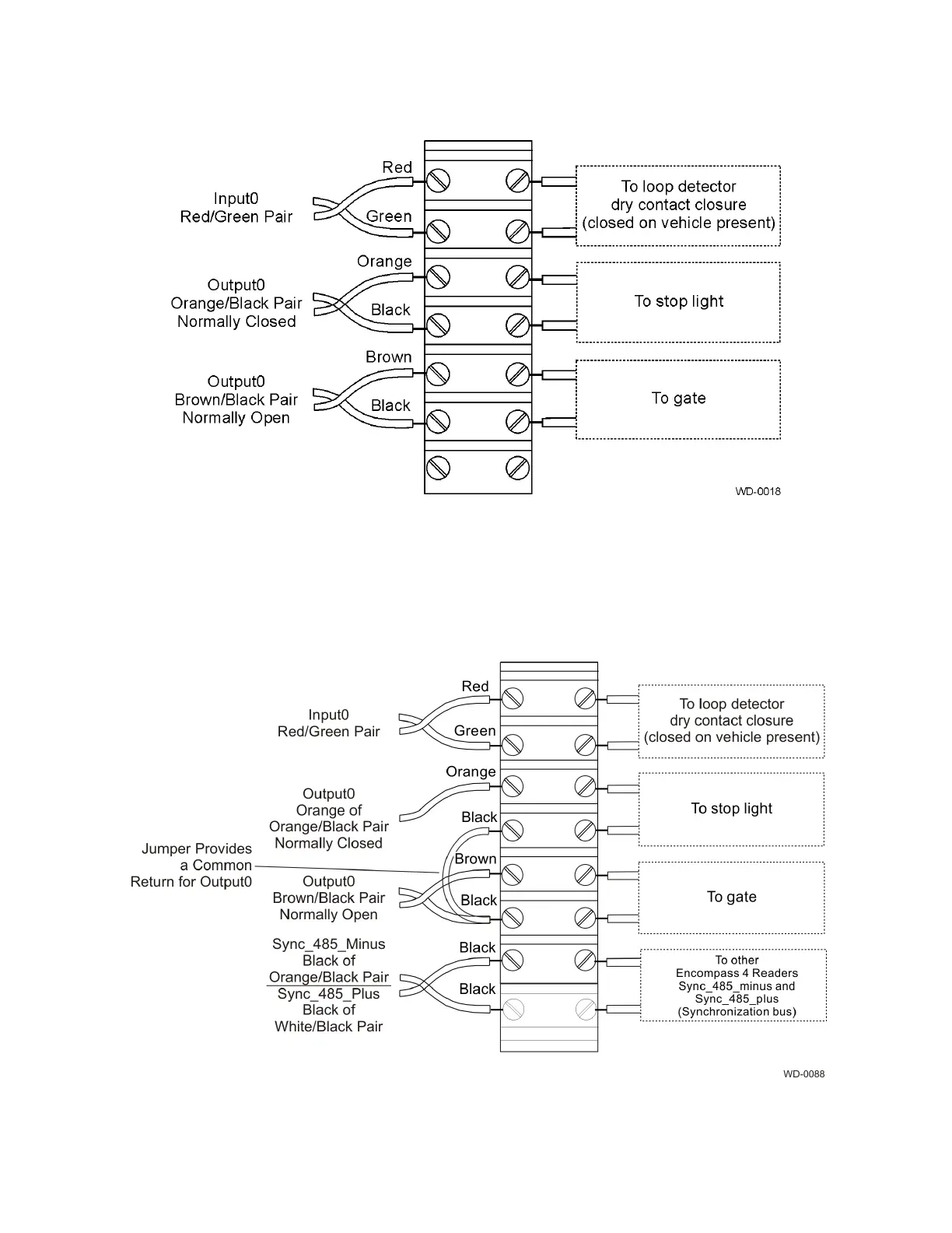
For Encompass 4 Readers that are used with IAG protocols, the NC sense output0 common is connected
to the NO sense output0 common via a jumper providing a return for sense output0 NC. Figure 48 shows
this wiring.
Figure 47  Sample Circuit Connections
Figure 48 Sample Circuit Connections for IAG Installations

Table of Contents

Other manuals for TransCore encompass 4