EasyManua.ls Logo

TREND WRT - Fence and Pushstick Adjustments; Back Fence Adjustment; Pushstick Operation

TREND WRT
32 pages
Print Icon
To Next Page IconTo Next Page
To Next Page IconTo Next Page
To Previous Page IconTo Previous Page
To Previous Page IconTo Previous Page
Loading...
-19-
WRT
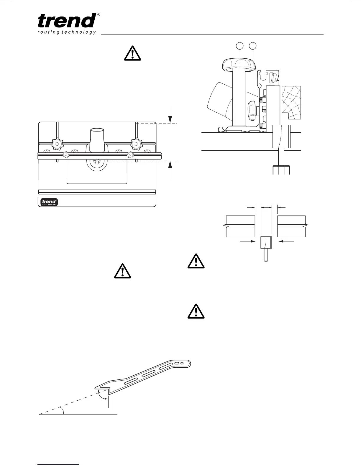
n Adjust back fence position by loosening the two
knobs (A) and pushing the fence forwards or
backwards.
n Lock fence position by tightening the two knobs
(A).
n To adjust fence cheeks loosen four back knobs
(B). Slide cheeks in and out to suit cutter.
Leave gap of 3mm between cheek and cutter.
n Lock cheeks by tightening four knobs (B).
Back Fence Adjustment
3mm
max.
3mm
max.
Pushstick Operation
The pushstick has been designed for use with a
router table, and should always be used when
making any cut less than 300mm in length or,
when feeding the last 300mm of a longer cut.
The birds mouth is 90° and should be angled at
between 20° to 30° to the workpiece to suit the
height of the machinist.
CAUTION: Compliance with the safety
requirements of the regulations in
force is nullified by any modification
or tampering with the pushstick.
90°
20°-30°
max.
225mm
CAUTION: Do not use the pushstick
as a lever or for uses other than those
envisaged.
A B

Related product manuals