EasyManua.ls Logo

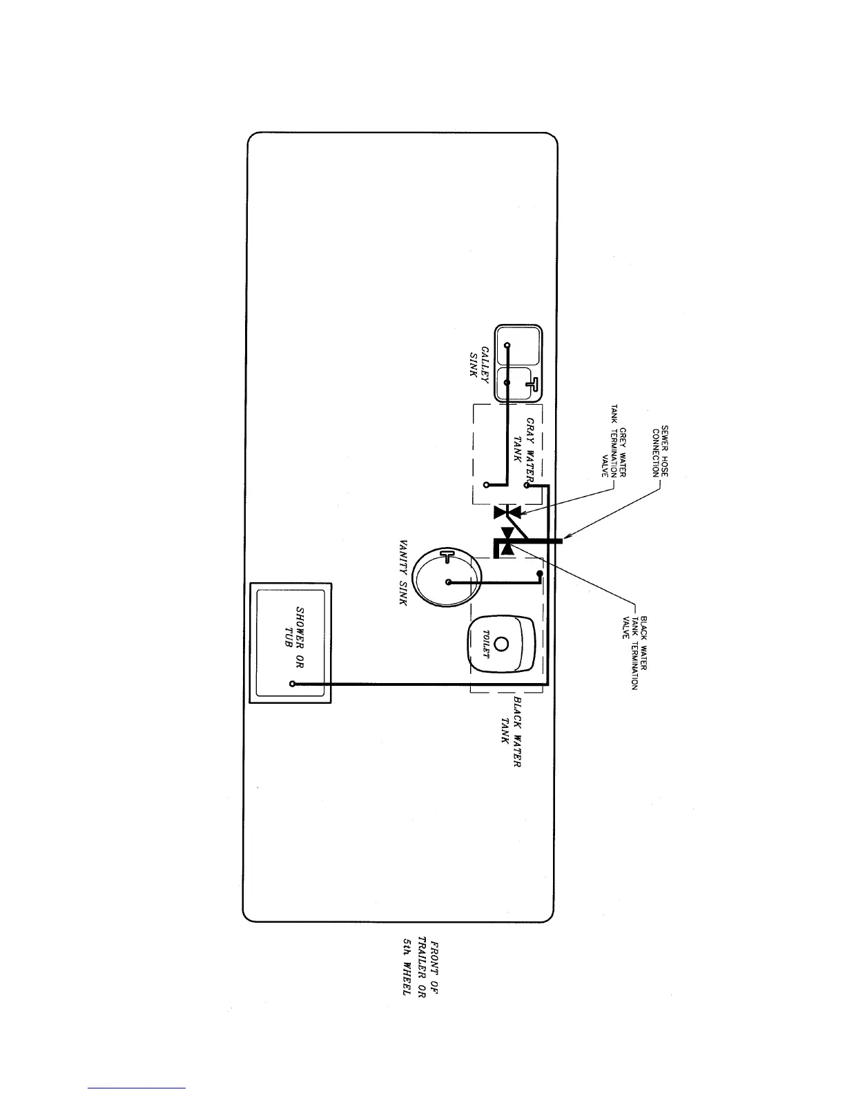
Triple E Topaz - Plumbing Schematics;Drainage System

Default Icon
124 pages
Print Icon
To Next Page IconTo Next Page
To Next Page IconTo Next Page
To Previous Page IconTo Previous Page
To Previous Page IconTo Previous Page
Loading...
11-12
TOPAZ
11.4 TYPICAL PLUMBING SCHEMATICS/DRAINAGE SYSTEM

Table of Contents

Related product manuals