EasyManua.ls Logo

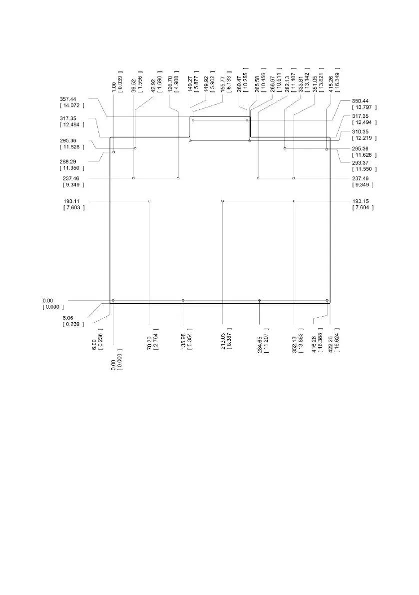
TYAN FT83-B7119 - Motherboard Mechanical Drawing

TYAN FT83-B7119
221 pages
Print Icon
To Next Page IconTo Next Page
To Next Page IconTo Next Page
To Previous Page IconTo Previous Page
To Previous Page IconTo Previous Page
Loading...
83
http://www.tyan.com
4.3 Motherboard Mechanical Drawing

Table of Contents

Related product manuals