EasyManua.ls Logo

Vi.Be.Mac 3022LV - NEEDLE BAR PENDULUM HEIGHT

Default Icon
28 pages
Print Icon
To Next Page IconTo Next Page
To Next Page IconTo Next Page
To Previous Page IconTo Previous Page
To Previous Page IconTo Previous Page
Loading...
VI.BE.MAC.S.p.A. 3022LV
Page 18
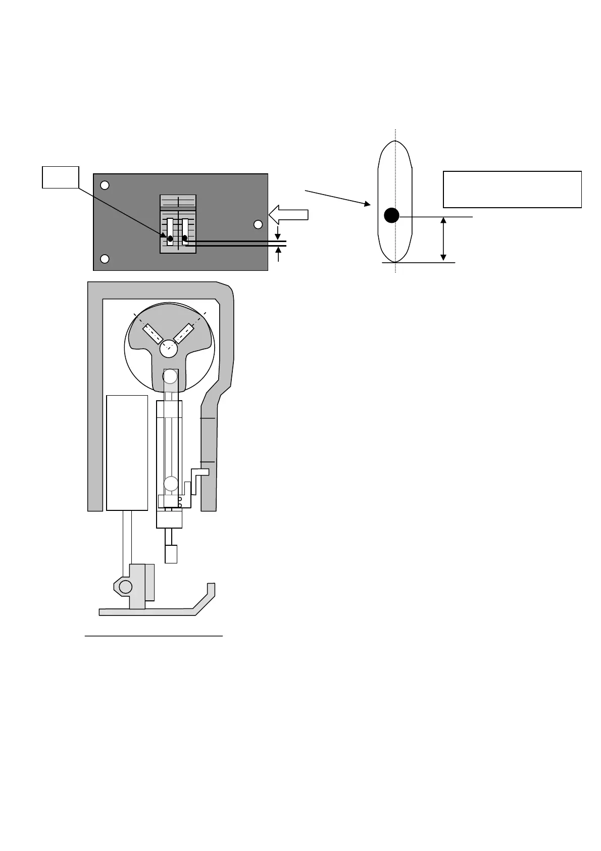
15.5 NEEDLE BAR PENDULUM HEIGHT
It is very important to adjust the needle position with respect to the needle plate hole. If this operation is not carried out correctly it
could lead to the breakage of the unstitching sheet or problems during sewing (dropped stitches).
Turn the hand wheel by hand, moving the needle downwards. When the eye of the needle is at the same level as the plate, loosen
the needle bar pendulum fixture screw.
Now move the needles to the specific distance, 2-2.5 mm as illustrated in the drawing below and then tighten the screw (1) again:
2MM
Distance of around 2 mm
between needle centre – start of
hole
Needle

Related product manuals