EasyManua.ls Logo

Voith CH Series - Fig. 4.1: Attaching the Universal Joint Shaft

Default Icon
72 pages
Print Icon
To Next Page IconTo Next Page
To Next Page IconTo Next Page
To Previous Page IconTo Previous Page
To Previous Page IconTo Previous Page
Loading...
Packaging, transport
J.M. Voith SE & Co. KG/VTA | Instruction Manual
32
High
-performance universal joint shaft
Instruction manual (Translation)
G853 en 07/2013, Version1
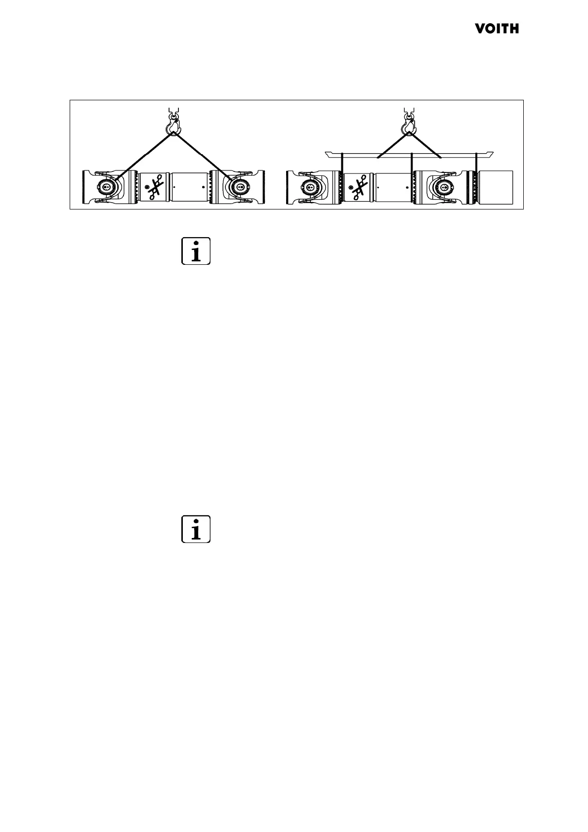
Fig. 4.1: Attaching the universal joint shaft
Universal joint shafts are, as much as possible, balanced at the
factory.
Protect universal joint shaft against damage.
Transport universal joint shaft without impact.
Do not attach universal joint shaft in marked area
(Fig. 4.1, page 32).
Heed the center of gravity (hoist axis).
Transport universal joint shaft as horizontally as possible.
In case of vertical transport of the universal joint shaft, secure
the universal joint shaft from separating with suitable
restraints.
For attaching, use plastic fiber ropes if possible in order not
to damage the universal joint shaft. Heed sufficient edge
protection.
Only set universal joint shaft down on a suitable base and
secure it against rolling away.
Universal joint shafts are delivered balanced and lubricated
so they are ready for installation and operation and.
To guarantee that the system documentation, the delivered
universal joint shaft must not be changed.

Table of Contents

Related product manuals