EasyManua.ls Logo

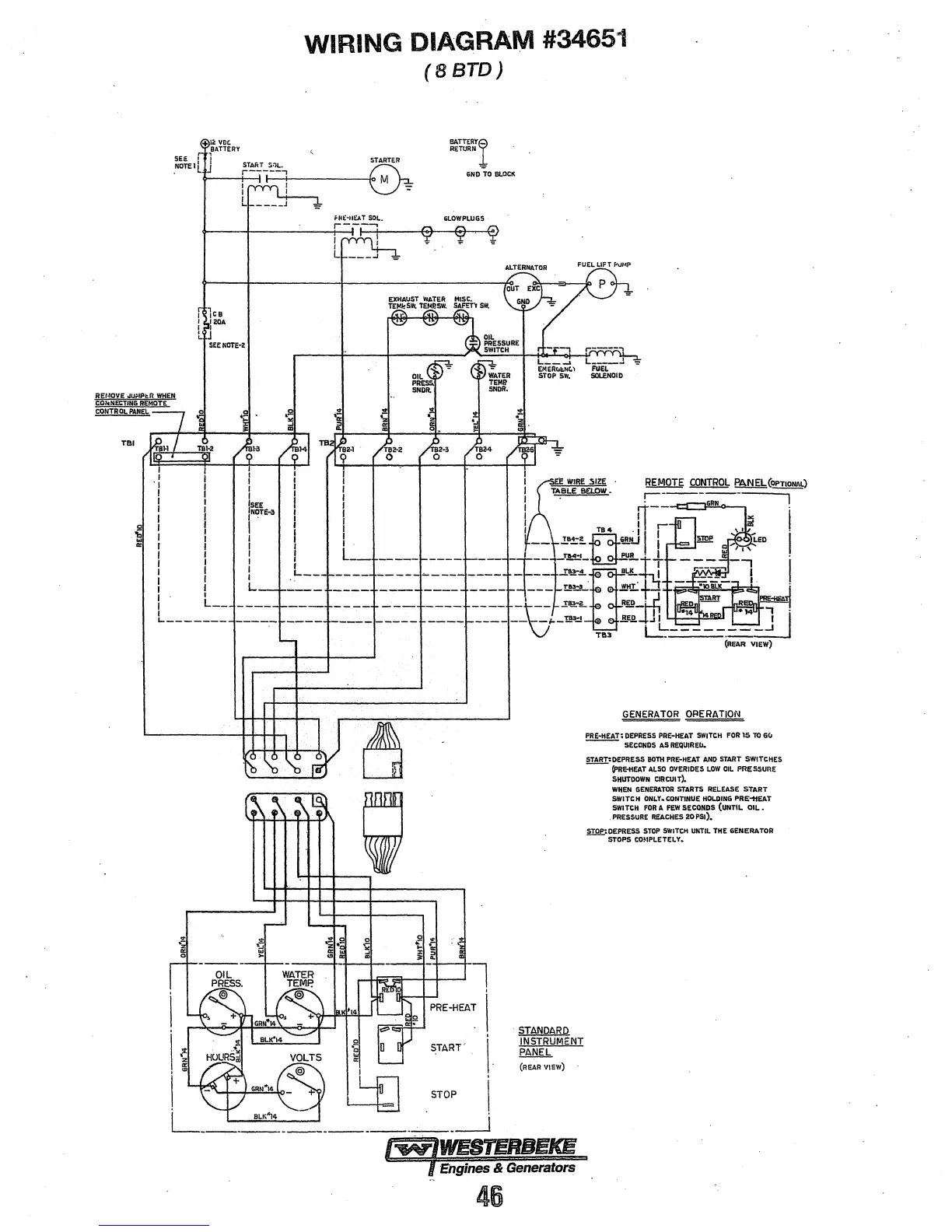
Westerbeke 12.5 BTDA - Wiring Diagram #34651 (8 BTD); Generator Operation Sequence

Westerbeke 12.5 BTDA
70 pages
Print Icon
To Next Page IconTo Next Page
To Next Page IconTo Next Page
To Previous Page IconTo Previous Page
To Previous Page IconTo Previous Page
Loading...
Till
I
I
.I
I
I
I
I
I
I
I
I
I
I
I
I
I
I
I
+I~
VDC
WIRING DIAGRAM
#3465'1
(8
BTD)
BA.TTEftY
SEE
I
,I
.
NOTEt!
J
STAftT
S:>L.
STARiE.R
-6-----~~--~--~.
M -
BATTERY~
RETURN
1
6ND
TO
stOCK
I
I
L--
J
~-T··-----------~
L ____ j
I
I
I
I
I
I
sEE
INOTE-3
I
I
I
I
I
I
I
L
I
I
I
I
l
I
I
~----
GLOWPWGS
L.-------
STANDARD
INSTRUME:NT
PANEL
(REAR
VIEW)
Engines & Generators
46
GENERATOR OPERATION
PRE-HEAT:
DEPRESS PRE-HEAT SWITCH
FOR
l$
TO
6U
---
SECOMDS
ASREQUIREb.
m!U:.:DEPR£55
BtiTN
PRE•HEAT
AND
START
SWITCHES
(pRE-HEAT
ALSO
OVERIDES
LOW
OIL
PRESSURE
SHUTDOWN
ClRtuiT).
WitEN
GENERATOR
STARTS RELEASE
START
SWITCH
ONLY
..
CONTINUE tlOLDfNG
PRE"tiEAT
SWITCH
FOR
A
FEW
SECONDS
(UNTIL
OIL
.
.
PRESSURE
REACHES
20
Pst).
~:DEPRESS
STOP
SWITCH
UNTtl
TKE
GENERATOR
STOPS C0!-1PLETELY
..

Other manuals for Westerbeke 12.5 BTDA

Related product manuals