EasyManua.ls Logo

Xylem Aquavar - Page 22

Xylem Aquavar
172 pages
Print Icon
To Next Page IconTo Next Page
To Next Page IconTo Next Page
To Previous Page IconTo Previous Page
To Previous Page IconTo Previous Page
Loading...
72
(2.8)
1551
(61.1)
164
(6.5)
600
(23.62)
2000
(78.74)
727
(28.6)
392
(15.4)
494
(19.4)
538 (21.2)
198
(7.8)
145
(5.7)
160
(6.3)
1043
(41.1)
72
(2.8)
160
(6.3)
58
(2.3)
23
(0.9)
185
(7.3)
185
(7.3)
484
(19.1)
185
(7.3)
27
(1.1)
2X Ø 13
(0.5)
225
(8.86)
Side cable entry
knock-off plate
Bottom cable entry
Cable base
56
(2.2)
25 (1.0)
Ø25
(1.0)
F
F
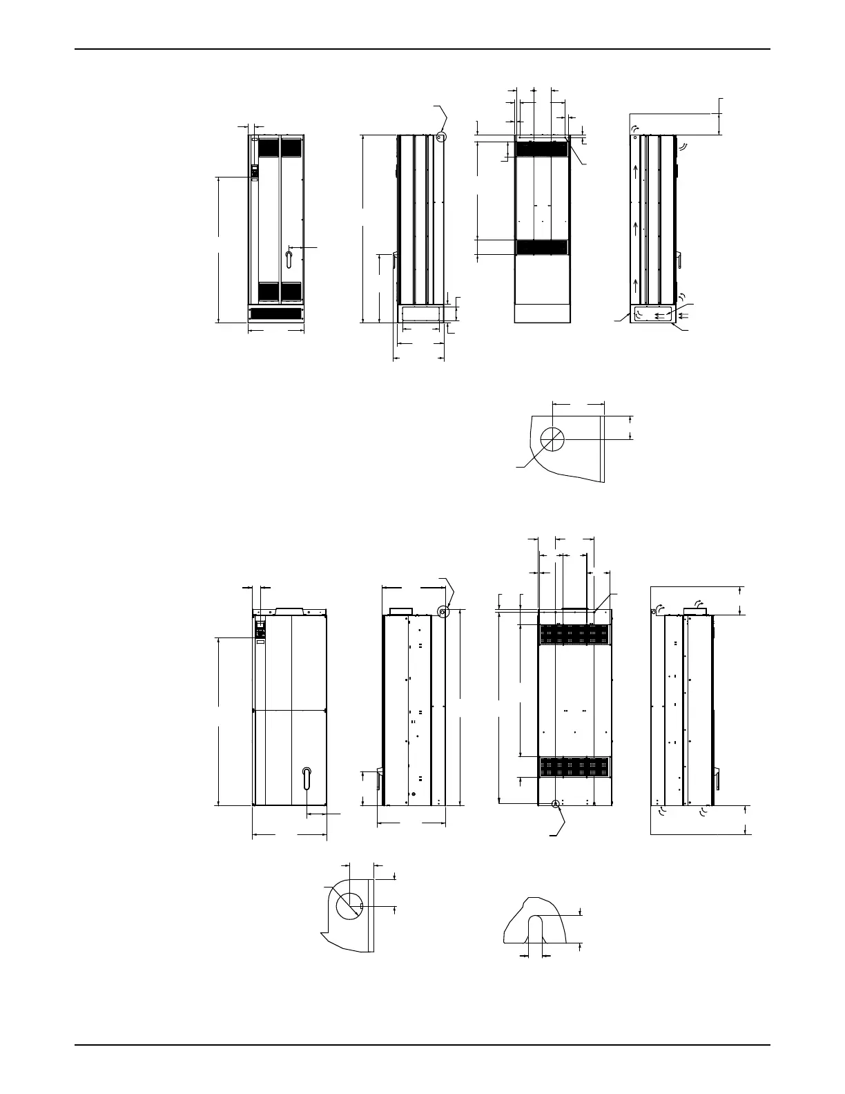
Figure 15: E1 Enclosure, floor- or cabinet-mount
64
(2.5)
1320
(52.0)
585
(23.0)
156
(6.2)
269
(10.6)
498
(19.5)
1547
(60.9)
1502
(59.1)
539
(21.2)
139
(5.5)
304
(12.0)
184
(7.3)
184
(7.3)
184
(7.3)
14
(1.5)
25
(1.0)
120
(4.7)
1043
(41.1)
160
(6.3)
2X Ø13
(0.5)
225 (8.9)
225 (8.9)
E
E
D
D
27
(1.0)
13
(0.5)
Ø25
(1.0)
25
(1.0)
23
(0.9)
Figure 16: E2 Enclosure, floor- or cabinet-mount
3 Product Description
20 Aquavar
®
Intelligent Pump Controller - 150 HP to 600 HP INSTRUCTION MANUAL

Table of Contents