EasyManua.ls Logo

YOKOGAWA F3CU04-1S - C1.1 Single Loop

YOKOGAWA F3CU04-1S
260 pages
To Next Page IconTo Next Page
To Next Page IconTo Next Page
To Previous Page IconTo Previous Page
To Previous Page IconTo Previous Page
Loading...
C1-2
IM 34M06H62-02E 2nd Edition : June 2008-00
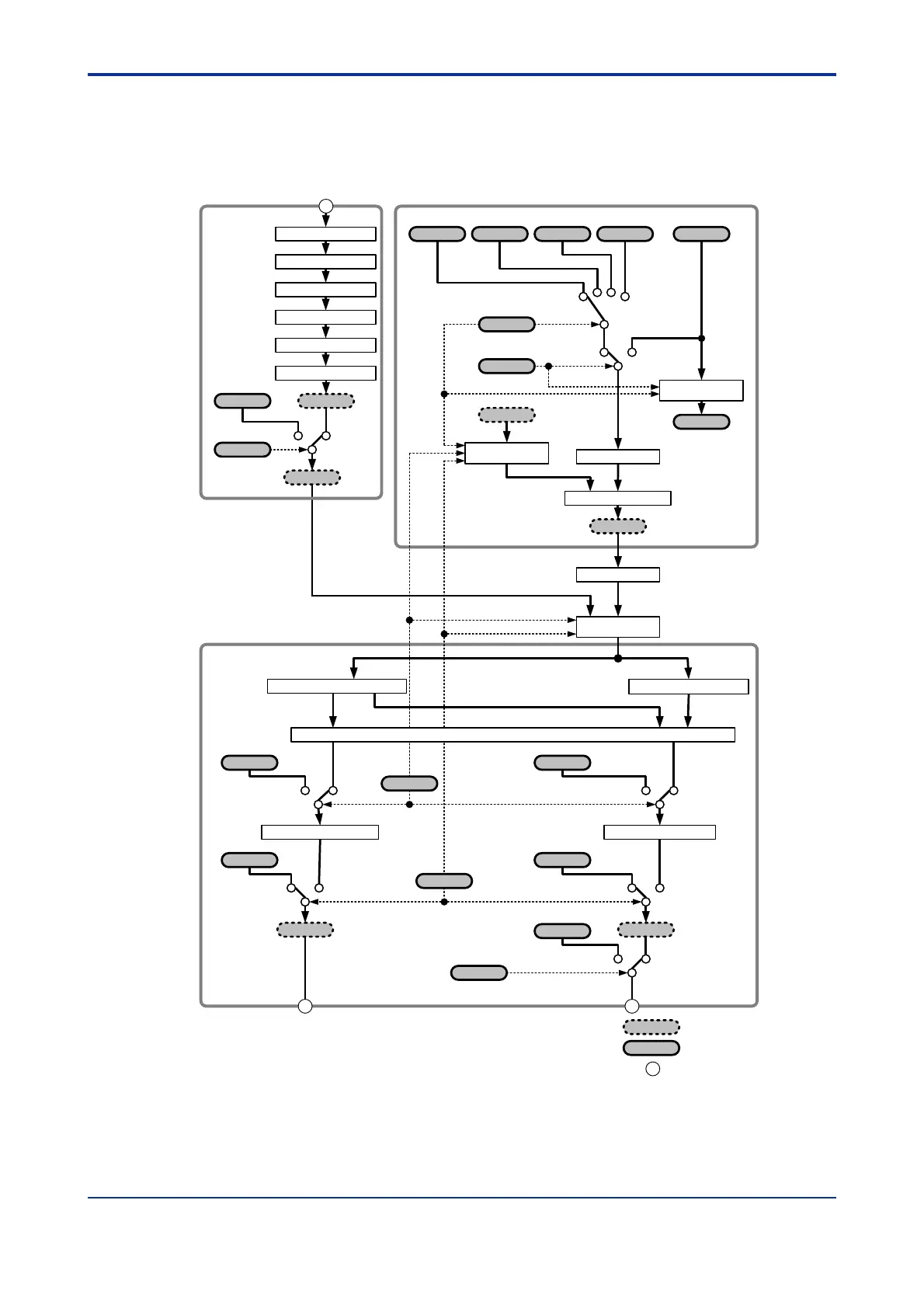
C1.1 Single Loop
When the controller mode is set to Single Loop, you get the most basic control operation
where each controller operates independently. You will set up each loop separately, and
perform run/stop and other operations for each loop separately.
4.SP1.SP 3.SP2.SP
SPNO
PV
RMT/LOC
RSP
External PV
Normal
POUT
AutoManual
Stop
Run
AutoManual
Run
C4. SP-related Functions
C3. PV-related Functions
C2. Output-related functions
Heating output limiter
Stop
RUN/STP
A/M/C
COUT HOUT
External output
Normal output
EXOUT/OUT
EXOUT is not available in the
heating/cooling control mode.
EXOUT
Input register
I/O register
Terminal
Local Remote
MOUTMOUTC
Heating/cooling computation
POUTC
C6. Control and
Computation Function
EXPV
PV
PVIN
Input type selection
Square root computation
Broken line biasing
Filtering
Input range conversion
Fixed biasing
EXPV/PV
SP gradient setting
CSP
SP tracking
SP limiter
PID computation
"Super"
To #.SP
Rate-of-change limiter
Operation control
PV tracking
Cooling output limiter
This flowchart illustrates the module functions as functional blocks. Some details are omitted intentionally to facilitate
reading. For details on each functional block, see the relevant section indicated.
Figure C1.1 Overview of Single Loop Mode

Table of Contents

Related product manuals