EasyManua.ls Logo

A&D GF-30K - Page 82

A&D GF-30K
104 pages
Print Icon
To Next Page IconTo Next Page
To Next Page IconTo Next Page
To Previous Page IconTo Previous Page
To Previous Page IconTo Previous Page
Loading...
80
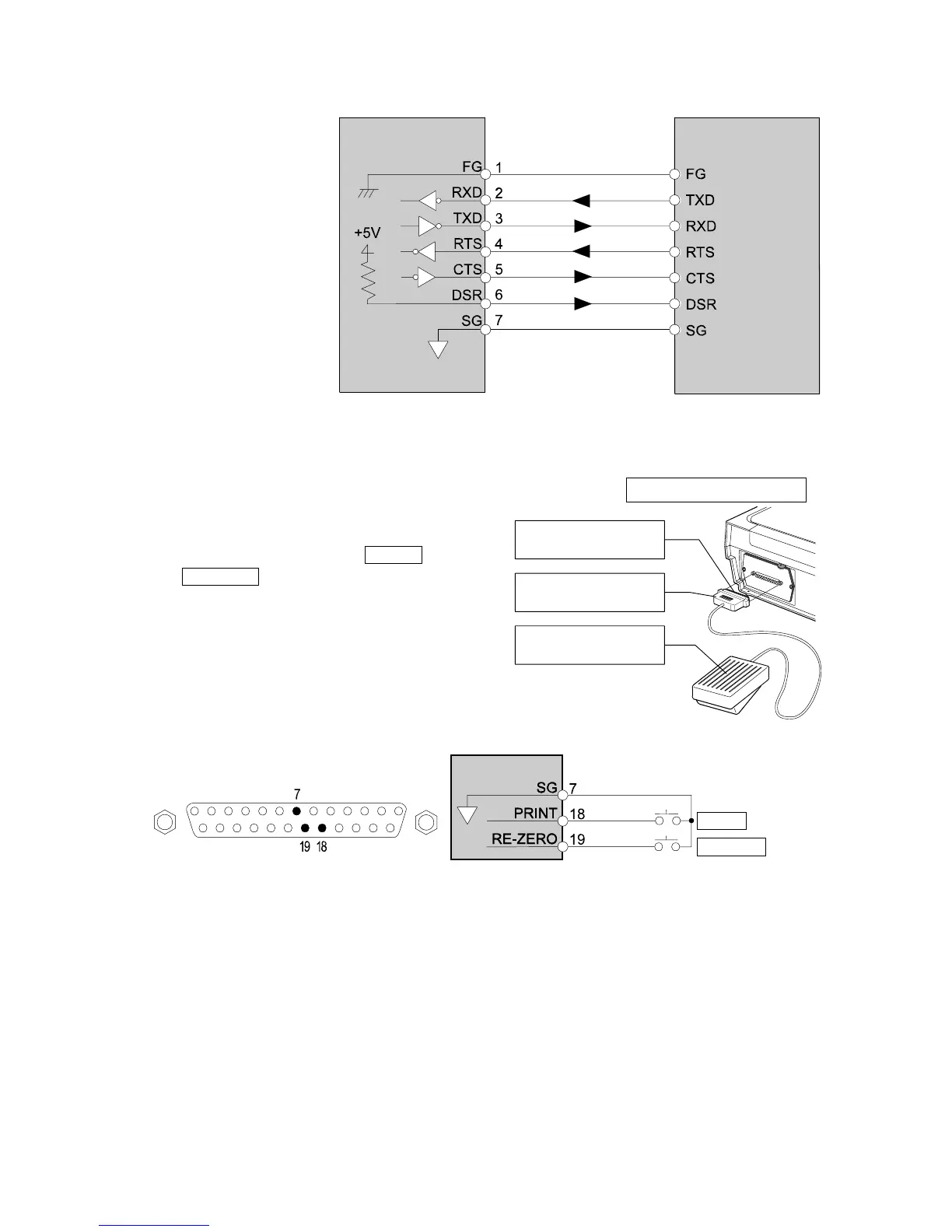
RS-232C Terminals
External contact input
By connecting pin 18 (PRINT command) to
pin 7, or pin 19 (RE-ZERO command) to pin
7 for 100 ms or more, the same operation as
performed by pressing the PRINT key or
the RE-ZERO key, will be performed.
Accessory
Connector : AX-HDB-25P/CTF
Foot switch : AX-SW128
Balance side
DCE
Computer side
DTE
Inside of balance
Terminals sample
Balance
side
PRINT
key
RE-ZERO
key
Connecto
r
AX-HDB-25P
Connector cove
r
AX-HDB-CTF
Foot switch
AX-SW128
Example of foot switch

Table of Contents

Related product manuals