EasyManua.ls Logo

ABB PVS300 - Corner Grounded TN and TT Type Grids

ABB PVS300
130 pages
Print Icon
To Next Page IconTo Next Page
To Next Page IconTo Next Page
To Previous Page IconTo Previous Page
To Previous Page IconTo Previous Page
Loading...
Planning the installation 45
Connection diagram for neutral grounded TN-C-S type grid
Connection diagram for neutral grounded TT type grid
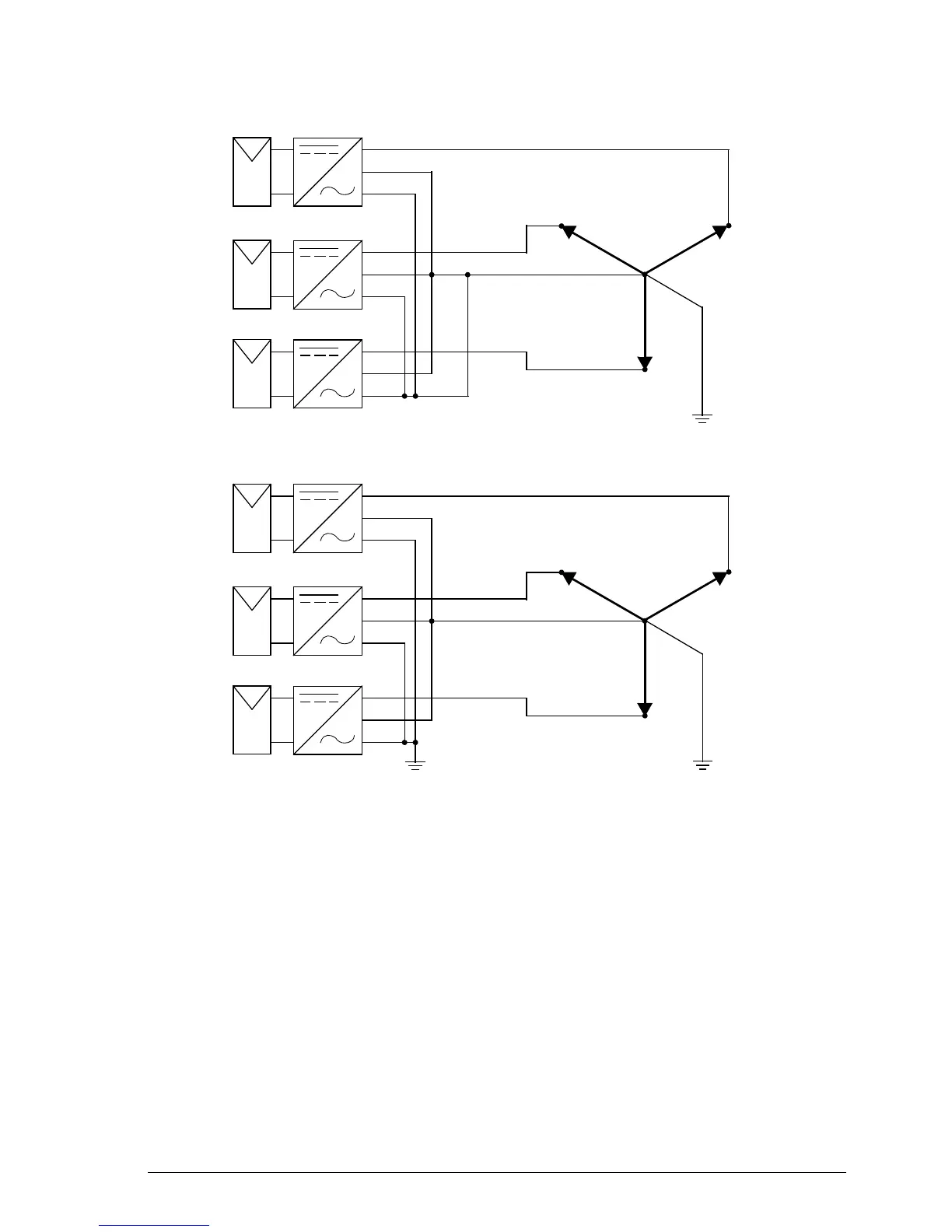
Corner grounded TN and TT type grids
Connection diagrams for three PVS300 solar inverters to corner grounded TN and TT
grids are shown in the following figures. In a corner grounded TN or TT type grid, the
voltage seen by a given PVS300 inverter is the line-to-line or line-to-earth voltage.
The allowed line-to-line RMS voltages are 208, 220, 230 and 240 V.
Note: In corner grounded TN or TT type grids, the PVS300 inverter may generate an
increased amount of leakage current to earth, potentially causing nuisance trips of
any external residual current device (RCD). The amount of leakage current depends
on the construction of PV installation, type of PV panels used and also weather
conditions. Therefore, an exact value for leakage current cannot be given or
calculated.
The inverter has an integrated DC and AC sensitive residual current monitoring unit
(RCMU) which can detect residual (fault, leakage) currents. During grid feeding
operation the inverter monitors residual currents. The inverter disconnects
L1
L
N
PE
L
N
PE
L
N
PE
L3
L2
N
2
3
0
V
2
3
0
V
Earth
230 V
L1
L
N
PE
L
N
PE
L
N
PE
L3
L2
N
2
3
0
V
2
3
0
V
Earth
230 V
Earth

Table of Contents

Other manuals for ABB PVS300

Related product manuals