EasyManua.ls Logo

Accsence VersaLog - Full Bridge Circuit; Connect Strain Gauge to a Data Logger

Default Icon
70 pages
Print Icon
To Next Page IconTo Next Page
To Next Page IconTo Next Page
To Previous Page IconTo Previous Page
To Previous Page IconTo Previous Page
Loading...
Accsense VersaLog Data Loggers User’s Manual Page 22
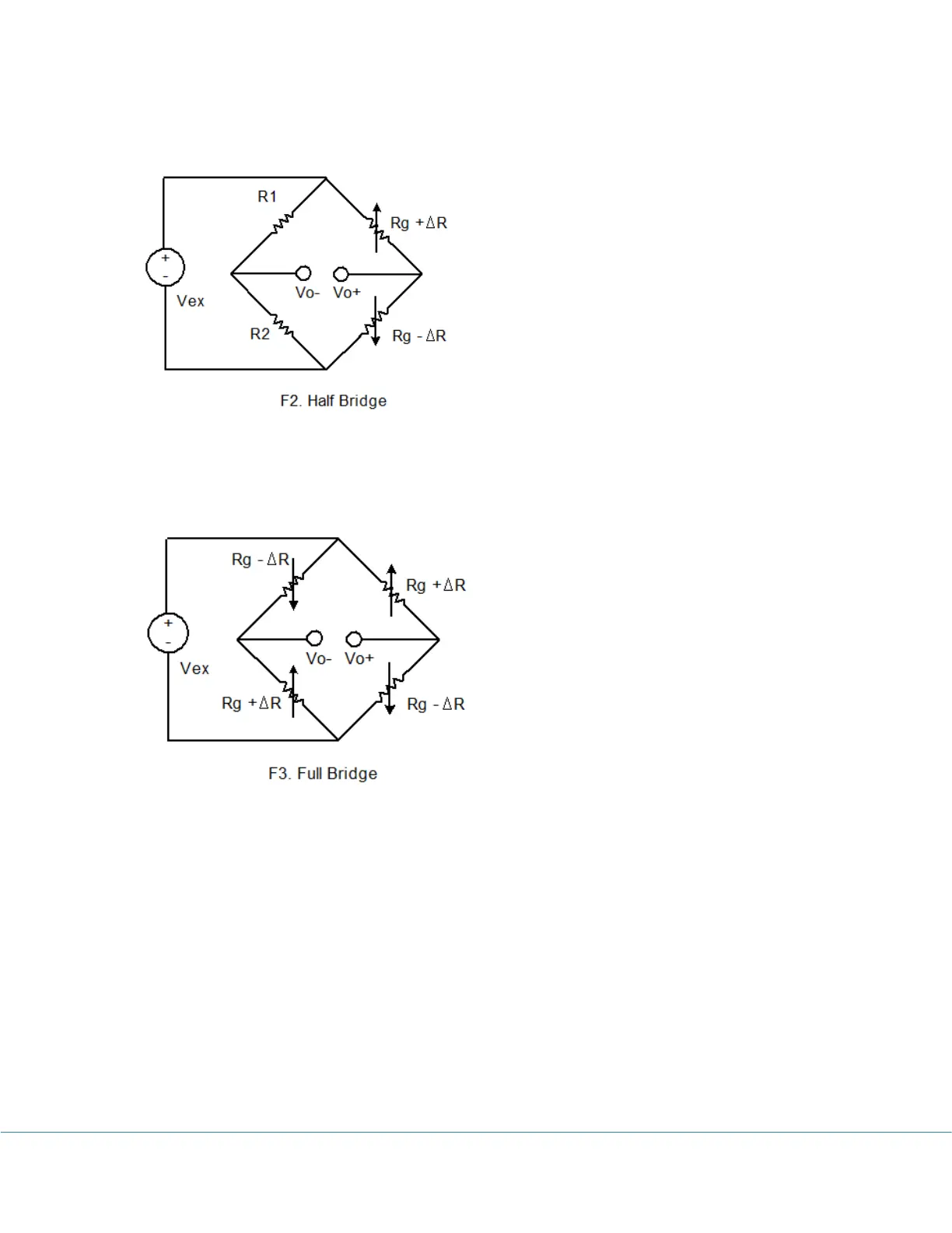
compensation and higher bridge sensitivity over the quarter bridge so that small strain levels can
be detected more accurately.
Full Bridge Circuit:
If four active gauges are employed in the circuit, the arrangement is called Full Bridge as shown
below. It is automatically temperature compensated when all four active gauges bonded on the
same material, and the highest sensitivity is obtained.
Connect Strain Gauge to a Data Logger
iLog Srtrain Gauge/Bridge data logger supports six-wire configuration when connecting to a
wheatstone bridge circuit. The following wirings are for SiteView built-in Strain Gauge
equations:
Wiring for Quarter Bridge Circuit:

Table of Contents