EasyManua.ls Logo

ACS Tech80 SB1391 - Page 56

ACS Tech80 SB1391
182 pages
Print Icon
To Next Page IconTo Next Page
To Next Page IconTo Next Page
To Previous Page IconTo Previous Page
To Previous Page IconTo Previous Page
Loading...
4-30 MOUNTING AND WIRING
SB1391 Hardware and Setup Guide - Document revision no. 1.14
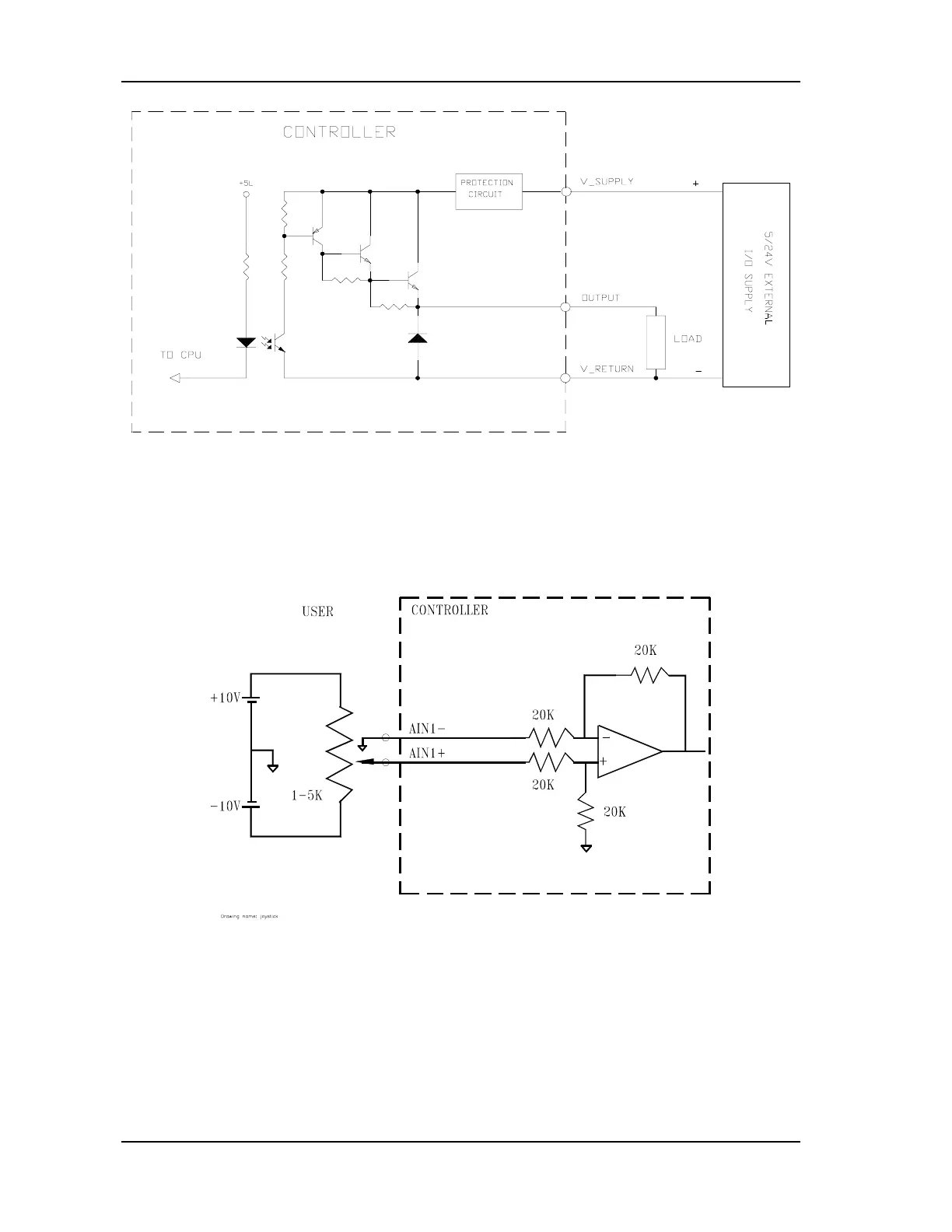
FIGURE 4-25 Output port interface
4.4.5.3. Analog Input
There is one differential analog input, which also acts as joystick input. The voltage range of the
analog input is ±10V. The potentiometer output must be connected to AIN1+. AIN1- must be
connected to the supply ground pin (FIGURE 4-26).
FIGURE 4-26 Joystick connection