EasyManua.ls Logo

ADC AD-330 - Page 24

ADC AD-330
178 pages
Print Icon
To Next Page IconTo Next Page
To Next Page IconTo Next Page
To Previous Page IconTo Previous Page
To Previous Page IconTo Previous Page
Loading...
20 American Dryer Corp. 112144-46
To protect the outside end of the horizontal ductwork from the weather, a 90º elbow bent downward should be
installed where the exhaust exits the building. If the exhaust ductwork travels vertically up through the roof, it
should be protected from the weather by using a 180º turn to point the opening downward. In either case, allow
at least twice the diameter of the duct between the duct opening and nearest obstruction.
IMPORTANT: DO NOT use screens, louvers, or caps on the outside opening of the exhaust
ductwork.
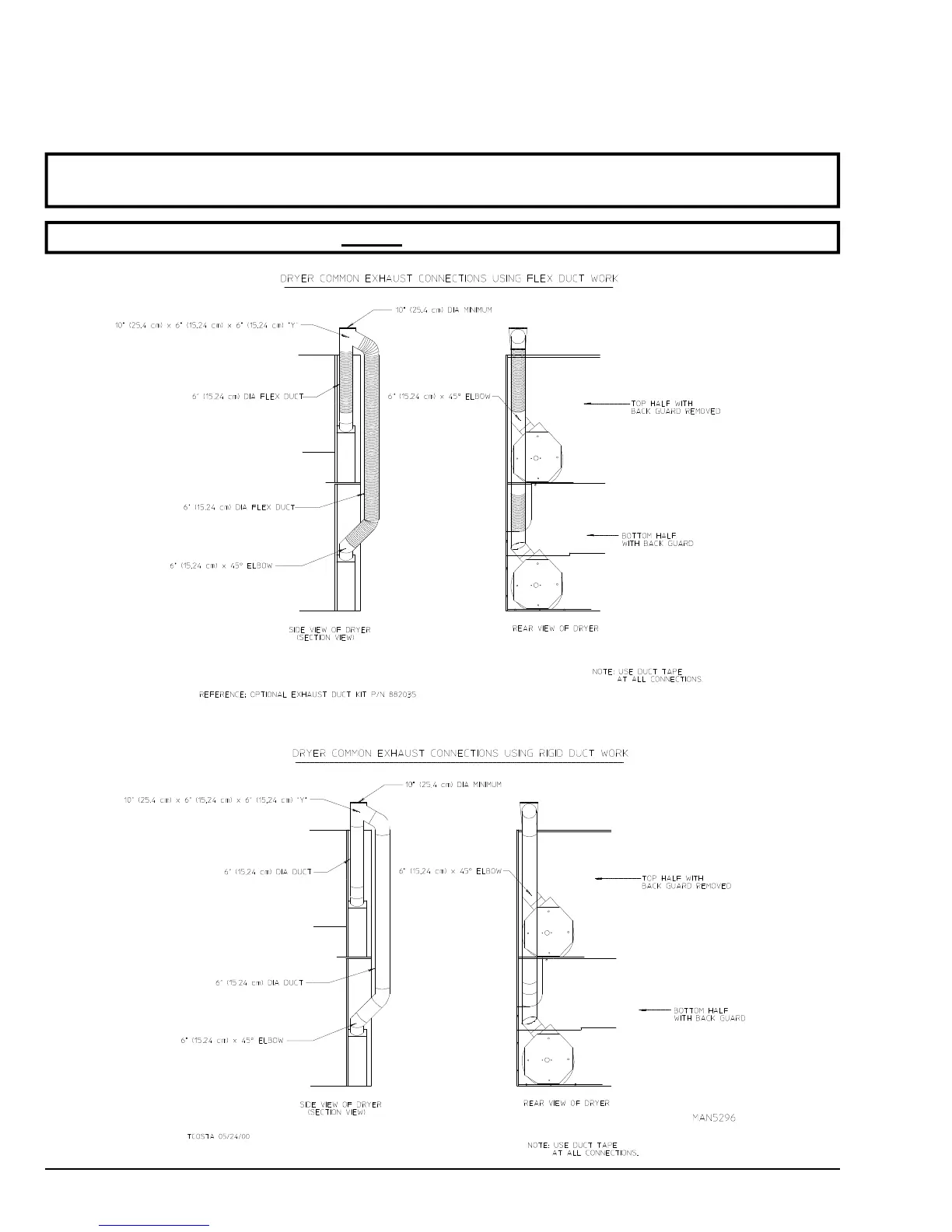
NOTE: Refer to the illustrations on page 21 for examples of multiple dryer (common) venting.

Table of Contents

Related product manuals