EasyManua.ls Logo

Advantech Adam - 4069 - Ttl

Advantech Adam - 4069
390 pages
Print Icon
To Next Page IconTo Next Page
To Next Page IconTo Next Page
To Previous Page IconTo Previous Page
To Previous Page IconTo Previous Page
Loading...
ADAM-4000 Series User Manual 32
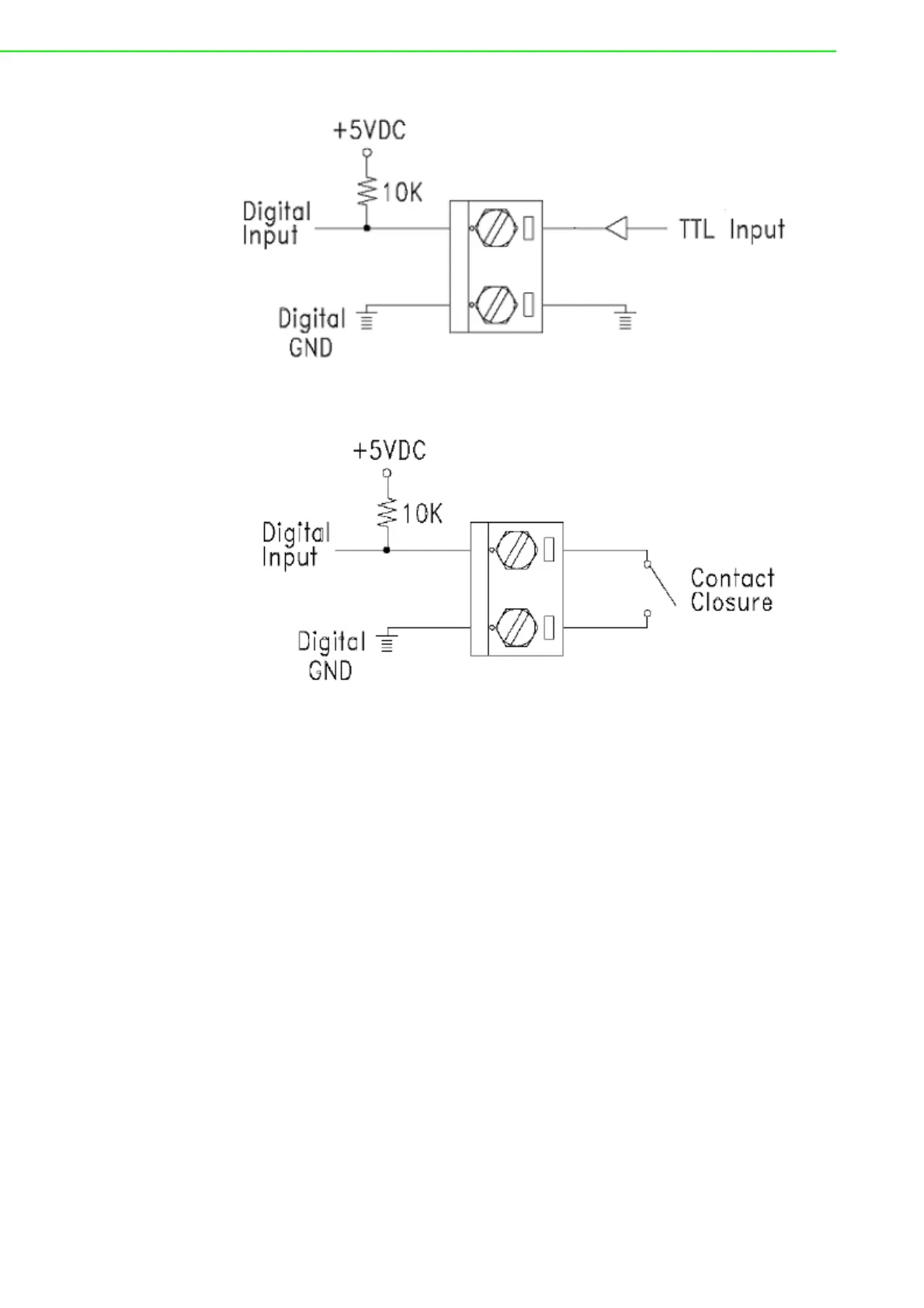
Figure 3.13 ADAM-4012 Digital Input Wiring Diagram Used with TTL
Figure 3.14 ADAM-4012 Digital Input Wiring Diagram Used with Dry contact

Table of Contents

Related product manuals