EasyManua.ls Logo

Astralpool ECO ELYO Series - I Wahl des Aufstellungsortes; ❶ Installation

Astralpool ECO ELYO Series
315 pages
Print Icon
To Next Page IconTo Next Page
To Next Page IconTo Next Page
To Previous Page IconTo Previous Page
To Previous Page IconTo Previous Page
Loading...
6
❶ Installaon
1.1 I Wahl des Aufstellungsortes
1.1.1 Vorsichtsmaßnahmen bei der Installaon
Das Gerät sollte in einem Abstand von mindestens 2 Metern vom Schwimmbeckenrand
aufgestellt werden.
Das Gerät nicht am Körper anheben, sondern den Boden des Geräts verwenden.
Das Gerät darf nur im Freien aufgestellt werden: Es muss ein freier Raum um das Gerät herum vorhanden sein (siehe
§ „1.1.2 Wahl des Aufstellungsortes“).
Das Gerät auf den mitgelieferten Schwingungsdämpfern auf eine stabile, solide und ebene Fläche stellen.
Der Untergrund muss in der Lage sein, das Gewicht des Geräts zu tragen (insbesondere bei der Aufstellung auf einem
Dach, einem Balkon oder einer anderen Unterlage).
Das Gerät kann mit Hilfe der Löcher im Boden des Geräts oder mit Schienen (nicht im Lieferumfang enthalten) am
Boden befesgt werden.
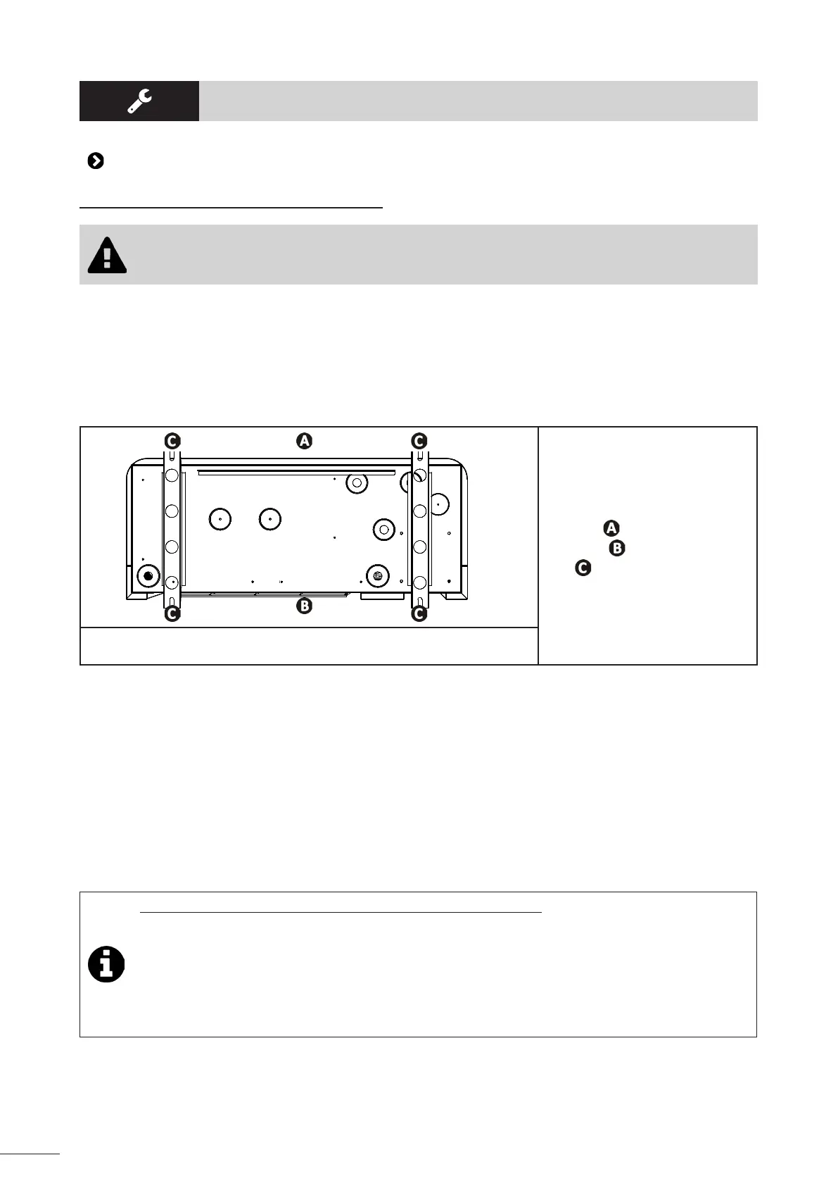
: Vorderseite
: Rückseite
: Schwingungsdämpfer
Ansicht des Gerätebodens von unten für die Montage der
Schwingungsdämpfer
Das Gerät darf nicht wie folgt installiert werden:
In einem geschlossenen und nicht belüeten Raum.
An einem Ort, wo es Schneeverwehungen ausgesetzt wäre,
An einem Ort, wo es durch die vom Geräts im Betrieb erzeugten Kondensate überschwemmt werden könnte.
An einem Ort, der starken Winden ausgesetzt ist,
Mit dem Gebläse in Richtung eines in einem Abstand von weniger als 2,5 m bendlichen dauerhaen oder temporären
Hindernisses (Fenster, Mauer, Hecke, Verschlag ...).
Auf Halterungen,
In Reichweite von Wasser- oder Schlammstrahlen, -spritzern oder -abüssen (Windeinwirkung berücksichgen),
In der Nähe einer Wärmequelle oder eines entzündbaren Gases,
In der Nähe von Hochfrequenzgeräten,
Tipp: Um die Geräuschentwicklung Ihrer Wärmepumpe zu verringern
Nicht unter oder gegenüber einem Fenster aufstellen.
Nicht zu den Nachbarn hin richten.
In Önung Raum installieren (die Schallwellen werden an Flächen reekert).
Eine Schallschutzwand um die Wärmepumpe herum anbringen und dabei die Abstände einhalten (siehe
§ „1.2 I Hydraulische Anschlüsse“).
Einen 50 cm langen exiblen PVC-Schlauch am Wasserein- und -auslass der Wärmepumpe anbringen (um
Schwingungen zu vermeiden).

Table of Contents

Related product manuals