EasyManua.ls Logo

Avery Dennison ST9500 - Replacing and Aligning the Gears

Avery Dennison ST9500
80 pages
Print Icon
To Next Page IconTo Next Page
To Next Page IconTo Next Page
To Previous Page IconTo Previous Page
To Previous Page IconTo Previous Page
Loading...
42
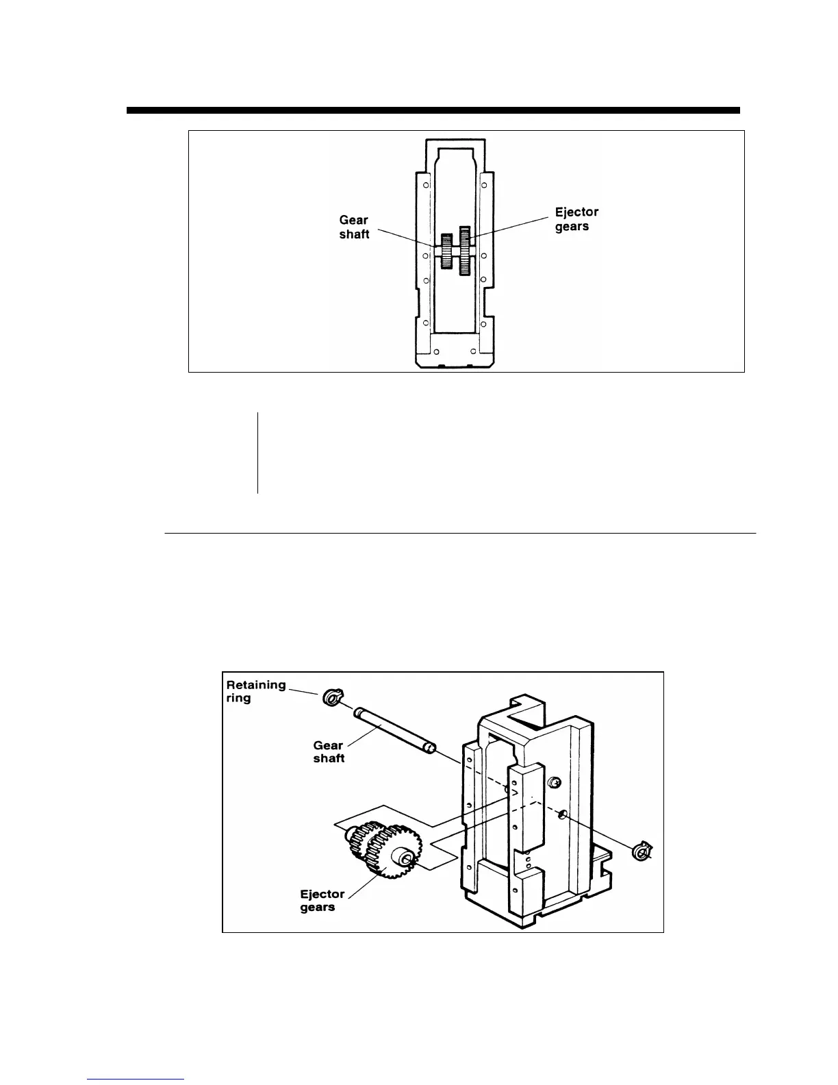
Replacing and Aligning the Gears
NOTE The gears only need to be aligned if you replace them or if you
removed the head when the ejector slide was removed and you
didn’t keep the gears aligned by inserting a tool into the alignment
hole in the left side of the head (see page 37).
Disassembly
1. Unplug the unit.
2. Remove the feed wheel assembly (see page 31).
3. Remove the feed guide and the ejector slide (see page 36).
4. Remove the knife lever (see page 37).
5. Remove the retaining ring from the left side of the gear shaft.
6. Remove the gear shaft from the head, removing the gears.