EasyManua.ls Logo

Bell OH-58A - Page 294

Bell OH-58A
333 pages
Print Icon
To Next Page IconTo Next Page
To Next Page IconTo Next Page
To Previous Page IconTo Previous Page
To Previous Page IconTo Previous Page
Loading...
TM 55-1520-228-BD
APPENDIX F
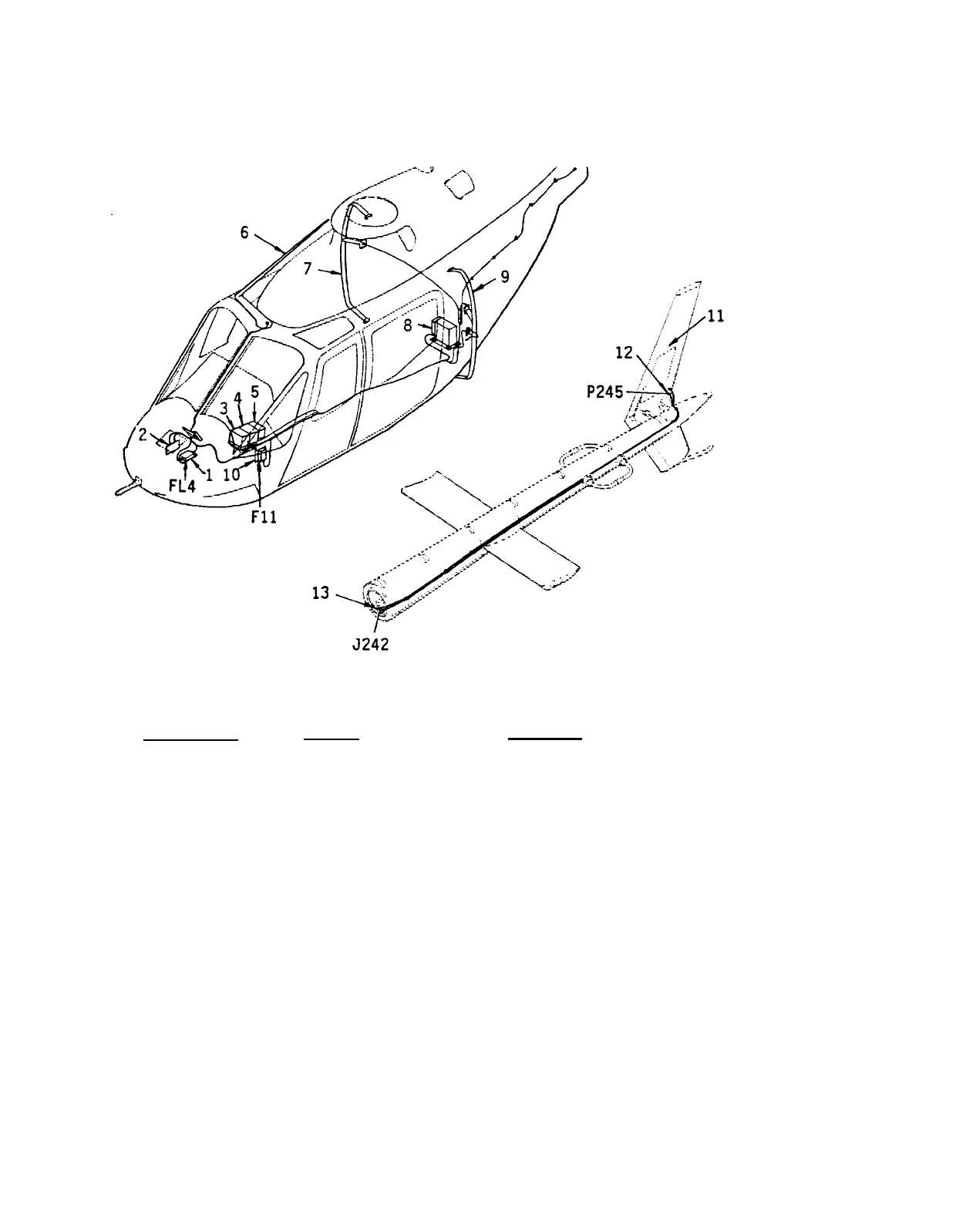
DRAWING
PART
DESIGNATION
NUMBER
FUNCTION
2
3
4
5
6
7
8
9
10
11
12
13
LPF-40-028
204-075-850-9
AN/ARC-114
AN/ARC-114
C-8157/ARC
AS-2485
AS-2670/ARC
TSEC/KY-28
TSECIKY-58
AS-2486/ARC
LPF40-028
206-022-114-1
206-022-114-3
KC-59-212
KC-19-120
Filter, Low Pass
Board, Capacitor, A3
Radio Set, No. 1 FM
Radio Set, No. 2 FM
Control, Indicator TSEC/KY-28
Antenna, No. 2 FM
Antenna, R/H, No. 1 FM
Com Security Set
Com Security Set
Antenna, L/H, No. 1 FM
Filter, Low Pass
Antenna, No. 1 FM, USBL on
68-16687 thru 72-21454
USBL on 72-21455 and Subq.
Connector, Plug
Connector, Electrical
Figure F-4.
VHF/FM Communication System
F-8
1

Table of Contents

Related product manuals