EasyManua.ls Logo

BERTHOLD TECHNOLOGIES LB 444 - Page 115

Default Icon
127 pages
Print Icon
To Next Page IconTo Next Page
To Next Page IconTo Next Page
To Previous Page IconTo Previous Page
To Previous Page IconTo Previous Page
Loading...
04/03 347 LB 444
105
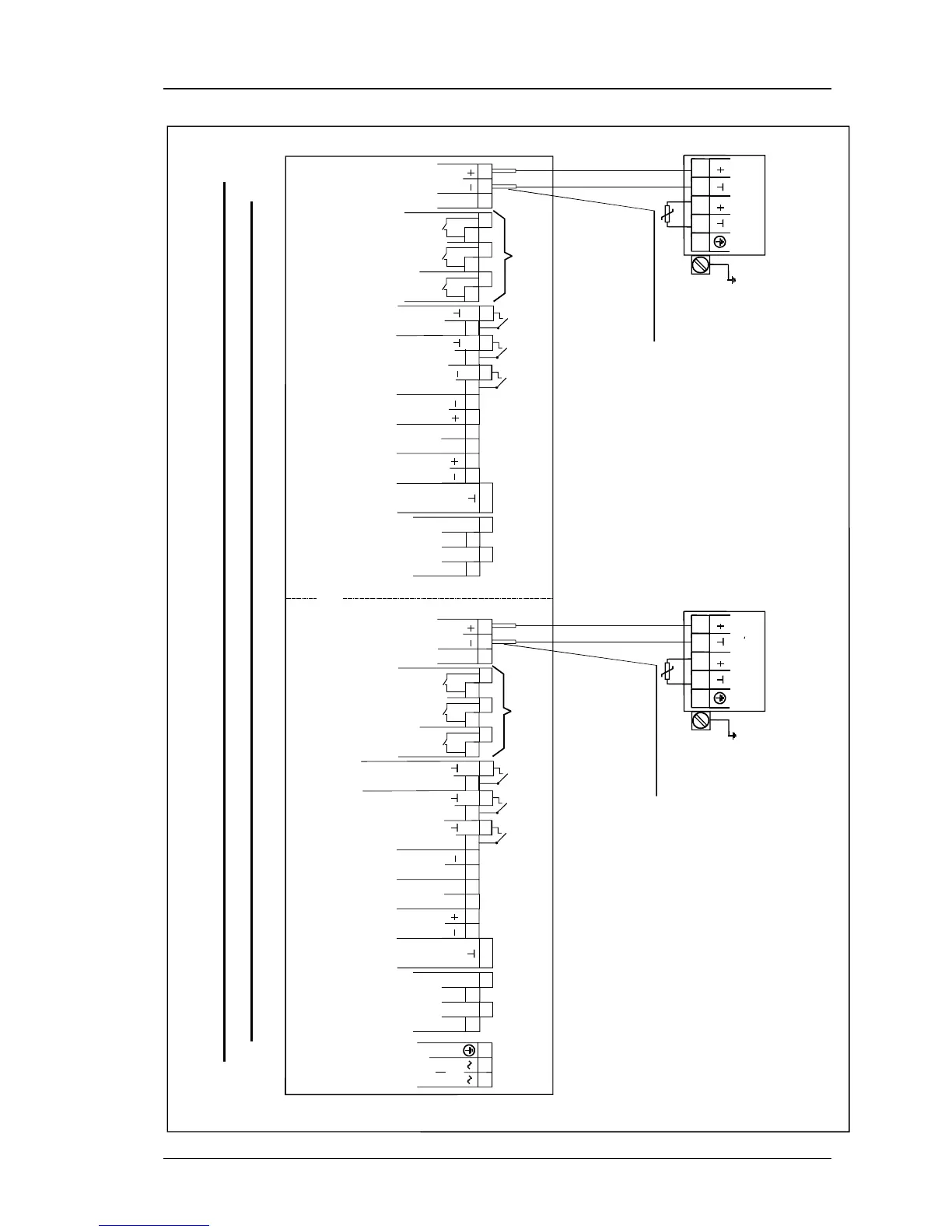
Anschlussplan Wandgehäuse LB 4460 für Dichtemessung LB 444
Wiring Diagram Cabinet LB 4460 for Density Measuring LB 444
RS 485
Stromausgang / Current output
potentialfrei /isolated
Kanal A
Channel A
Kanal B
Channel B
Detektor / Probe
Masse / Ground
Masse / Ground
Detektor / Probe
Fehler / Failure
Netz / Power
230/ 115 V AC
24 V AC/DC
Hilfsspg. Ausg.
Aux. Voltage
Stromeingang / Current input
0/4 - 20 mA
Batch /Reset
Start / Stop
Min. / Max.
Det. Temp.
Hilfsspg. Ausg.
Aux. Voltage
Stromeingang / Current input
0/4 - 20 mA
RS 485
Fehler / Failure
Min. / Max.
Det. Temp.
Stromausgang / Current output
potentialfrei /isolated
+ -
PE
54321
LB 44../LB 54..
Detektor
Probe
LB 44../LB 54..
Detektor
Probe
54321
LB 4460 Wandgehäuse / wall mounted cabinet
1 2 3
4
1918
20-25
678
9
10
11
+ IN IN IN
12
26 27
28
13 14
15
16 17
29 30
31
32 33
34
35
49
36
50
51- 56
37 38
39 40 41
42
43
44
57
58
59
45
46
47
60 61
62
48
63
64
65
Relais
Für eigensichere Installationen
[EEx ib] Kabeladern mit 10 mm
Schrumpfschlauch überziehen
10 mm long heat shrink sleeving
must be used to comply with
the [EEx ib] safety certification.
Digitale Eingänge
Digital inputs
123
+ IN IN
Rel.1 Rel.2
Rel.3
Rel.1
Rel.2 Rel.3
+ 24 V
GND
+ 24 V
GND
RS 2
RS 1
+ 24 V
GND
+ 24 V
GND
RS 2
RS 1
Relais
Für eigensichere Installationen
[EEx ib] Kabeladern mit 10 mm
Schrumpfschlauch überziehen
10 mm long heat shrink sleeving
must be used to comply with
the [EEx ib] safety certification.
Digitale Eingänge
Digital inputs
1
2
3
Kabel/Cable:
NYMHY 2*1mm²,max. 1000 m
Kabel/Cable:
NYMHY 2*1mm²,max. 1000 m
Pt 100 Pt 100
Ext.
Product
Batch /Reset
Start / Stop
Ext.
Product
5
PA
PA

Table of Contents

Related product manuals