EasyManua.ls Logo

Beyerdynamic MCS-D 200 - Page 18

Beyerdynamic MCS-D 200
88 pages
Print Icon
To Next Page IconTo Next Page
To Next Page IconTo Next Page
To Previous Page IconTo Previous Page
To Previous Page IconTo Previous Page
Loading...
MCS-D 200 – Menu
18
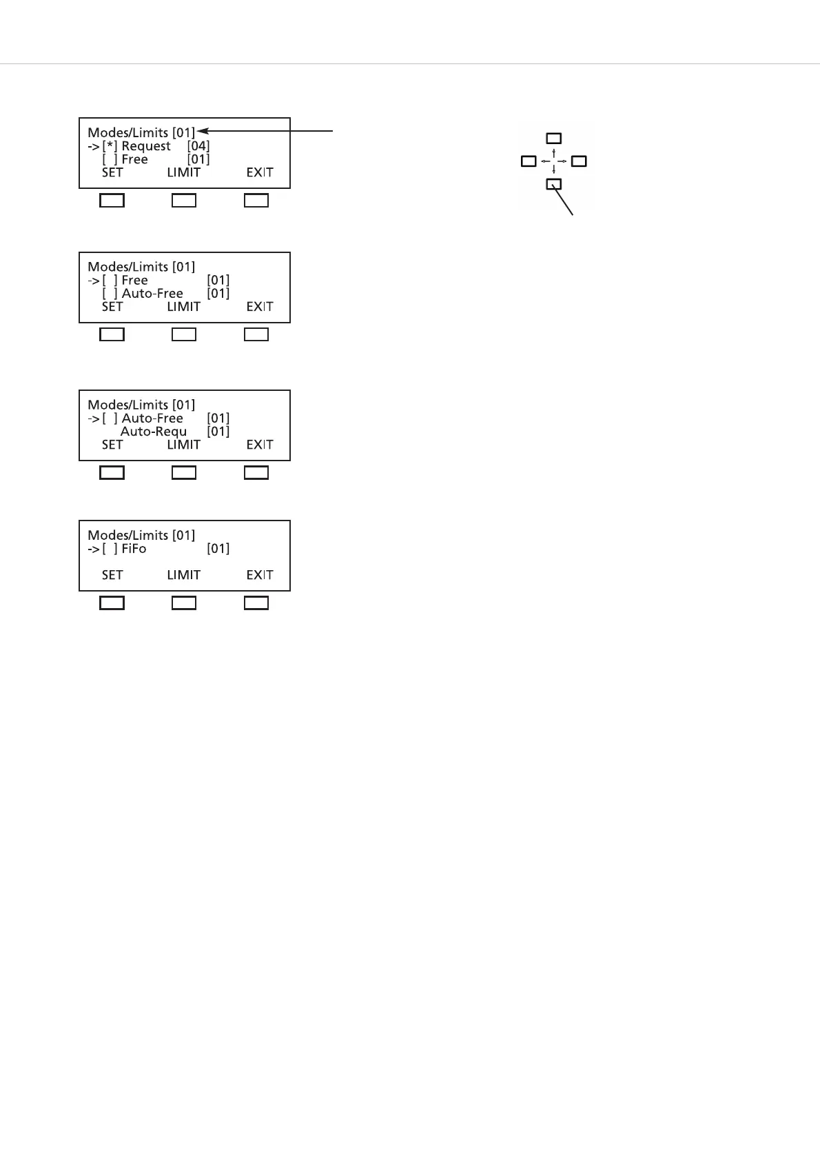
How to set Modes
To select the mode press the SET button. A star in brackets indicates the selected operating mode.
Use the up or down navigator
button for scrolling.
Session number

Table of Contents

Related product manuals