EasyManua.ls Logo

Beyerdynamic MCS-D 200 - Page 19

Beyerdynamic MCS-D 200
88 pages
Print Icon
To Next Page IconTo Next Page
To Next Page IconTo Next Page
To Previous Page IconTo Previous Page
To Previous Page IconTo Previous Page
Loading...
MCS-D 200 – Menu
19
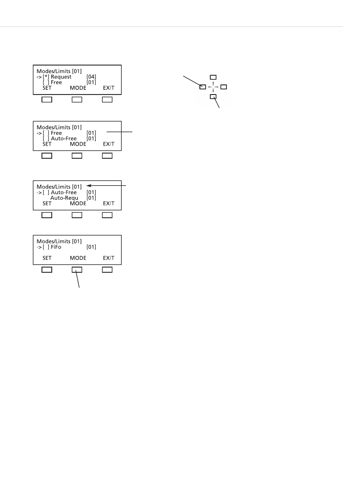
How to set the Limits
Press the LIMIT button to set the limit. Select the limit by using the right or left hand navigator buttons. Press the MODE button to return
to the MODE menu.
Change LIMIT:
Press the left or right hand
navigator button.
Use the up or down navigator
button for scrolling.
Cursor is flashing
Session number
Press MODE button to return to
the MODE menu.

Table of Contents

Related product manuals