EasyManua.ls Logo

Bosch D1260 - Page 64

Bosch D1260
154 pages
Print Icon
To Next Page IconTo Next Page
To Next Page IconTo Next Page
To Previous Page IconTo Previous Page
To Previous Page IconTo Previous Page
Loading...
Part III: Advanced Commands
REMOTE PROGRAM ? (COMMAND + 4 + 3)
D1260 Owner’s Manual
50410C © 2003 Bosch Security Systems
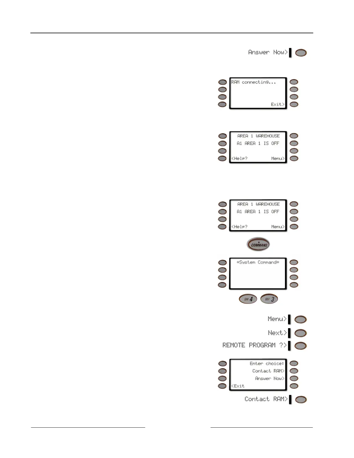
7. Press the Answer Now> soft key to connect to RAM.
Note: When your security company is communicating with your panel during a RAM session, the D1260 may display
Call for Service…
8. The display shows RAM connecting
9. The security system will now disconnect telephones sharing its telephone line during the remote
programming session. Hang up the telephone now.
10. At the conclusion of the programming session your
system sends a report to the security company and
then returns your telephone to normal service and
your display to idle text.
For systems with a phone number or network connection
My system uses a phone number for Remote Programming
My system uses an IP Address and network connection for Remote Programming
1. Ensure your command center shows idle disarmed
text.
2.
Press the COMMAND key.
The display shows *System Command*.
3.
Press the 4 key then the 3 key.
Note: If you prefer, you may use the Command Menu in place of steps 2 and 3 to initiate this function.
Press the Menu> soft key to enter the Command Menu,
then press Next> soft key repeatedly
until you reach the REMOTE PROGRAM ?> prompt and press
the adjacent soft key.
4. The display changes to show the two choices that are
available for connecting to RAM:
Answer Now
Contact RAM: RAM via phone or network
5. Press the Contact RAM> soft key to specify the
connection method to RAM.

Table of Contents

Other manuals for Bosch D1260

Related product manuals