EasyManua.ls Logo

Bridgestone 90 - Page 32

Default Icon
92 pages
Print Icon
To Next Page IconTo Next Page
To Next Page IconTo Next Page
To Previous Page IconTo Previous Page
To Previous Page IconTo Previous Page
Loading...
www.ClassicCycles.org
30
50 Sport, 60 Sport and 90cc
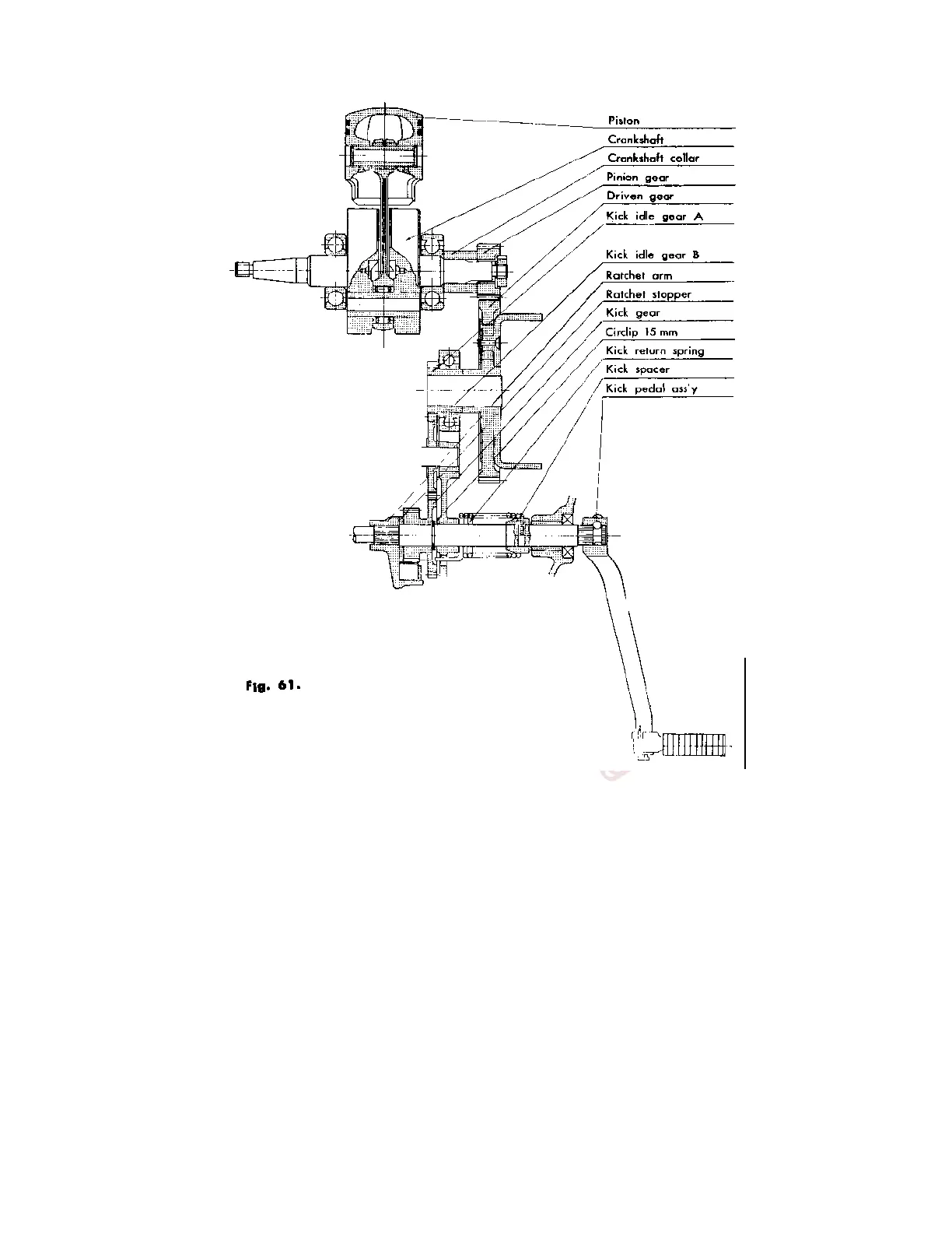
KICK MECHANISM:
As shown in Figure 62, the kick idle gear A meshes with the driven gear, kick idle gear B meshes with kick
idle gear A, and the kick gear meshes with kick idle gear B. Since the kick gear is always in mesh with kick
idle gear B, the force created by turning the kick pedal is transmitted from kick gear, through kick idle
gear B, kick idle gear A, driven gear and pinion gear, to the crankshaft and starts the engine.

Table of Contents

Related product manuals