EasyManua.ls Logo

BTS 2BV - Page 110

BTS 2BV
Print Icon
To Next Page IconTo Next Page
To Next Page IconTo Next Page
To Previous Page IconTo Previous Page
To Previous Page IconTo Previous Page
Loading...
- 19 -
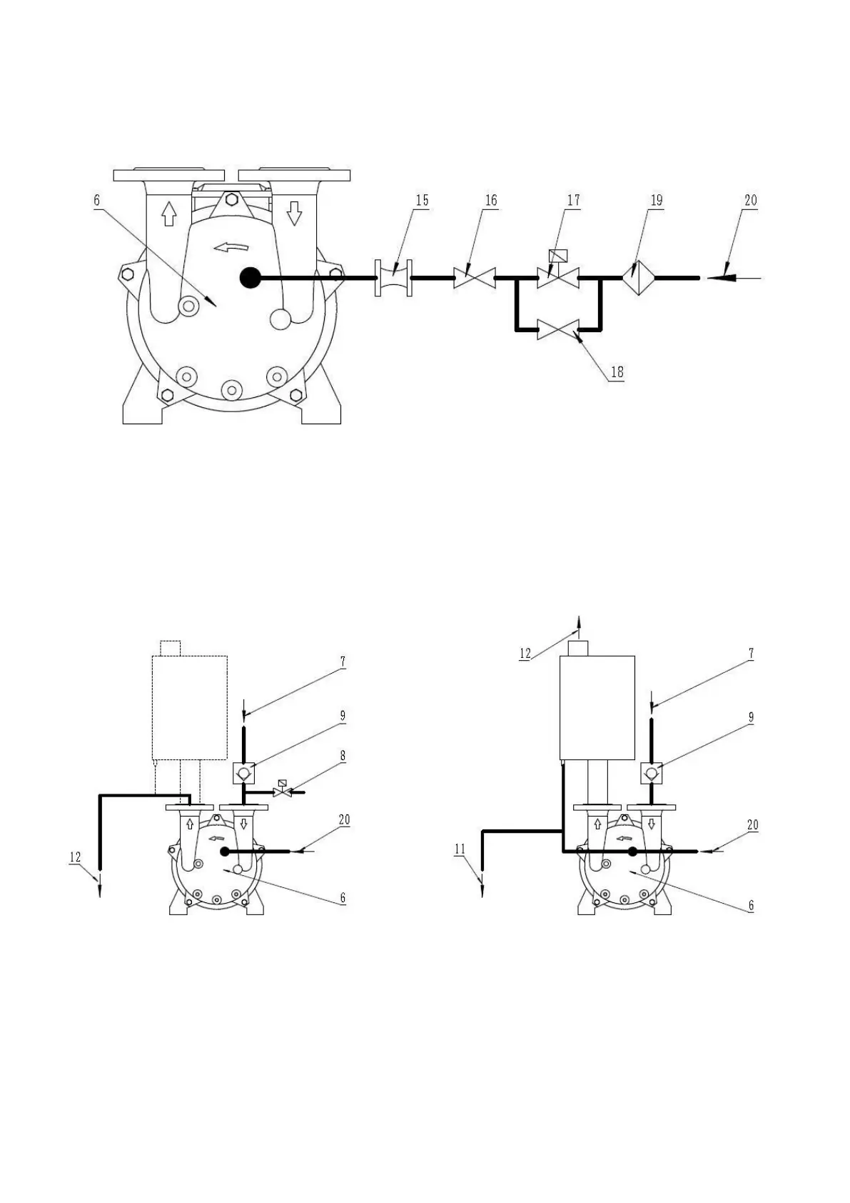
Abbildung 2. Empfohlener Anschluss des
Arbeitsmittelversorgungssystems
6) Vakuumpumpe der Serie 2BV; 15) Durchflussmesser; 16) Steuerventil; 17) Magnetventil; 18)
Bypass-Leitung mit Rückschlagventil; 19) Filter; 20) Zuleitung des Arbeitsmittels.
Abbildung 3. Methoden der Zufuhr des Arbeitsmittels
(schematische Darstellung)
Direkte Wasserversorgung: Abscheider und teilweise Rückführung:
6) Vakuumpumpengehäuse; 7) Saugstutzen; 8) elektromagnetisches Relais; 9)
Rückschlagventil; 10) Abscheider; 11) Bypassventil; 12) Auslassleitung; 20)
Versorgung mit Arbeitsmitteln.

Table of Contents