EasyManua.ls Logo

BTS 2BV - Page 111

BTS 2BV
Print Icon
To Next Page IconTo Next Page
To Next Page IconTo Next Page
To Previous Page IconTo Previous Page
To Previous Page IconTo Previous Page
Loading...
- 20 -
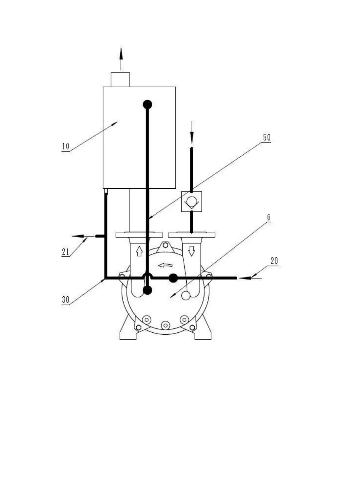
Abbildung 4. Vakuumpumpe mit Abscheider und Kavitationsschutz
6) Vakuumpumpe; 10) Abscheider; 20) Arbeitsmittelzufuhr; 21) Arbeitsmittelabfluss; 30)
Zirkulationsleitung des Arbeitsmittels; 50) Kavitationsschutzleitung.

Table of Contents