EasyManua.ls Logo

Casio TE-2200 - Key Allocation (Program 4); Key Allocation Program; Programming Procedure

Casio TE-2200
240 pages
Print Icon
To Next Page IconTo Next Page
To Next Page IconTo Next Page
To Previous Page IconTo Previous Page
To Previous Page IconTo Previous Page
Loading...
29
Program 4
TE-2200/2400 Dealer's Manual
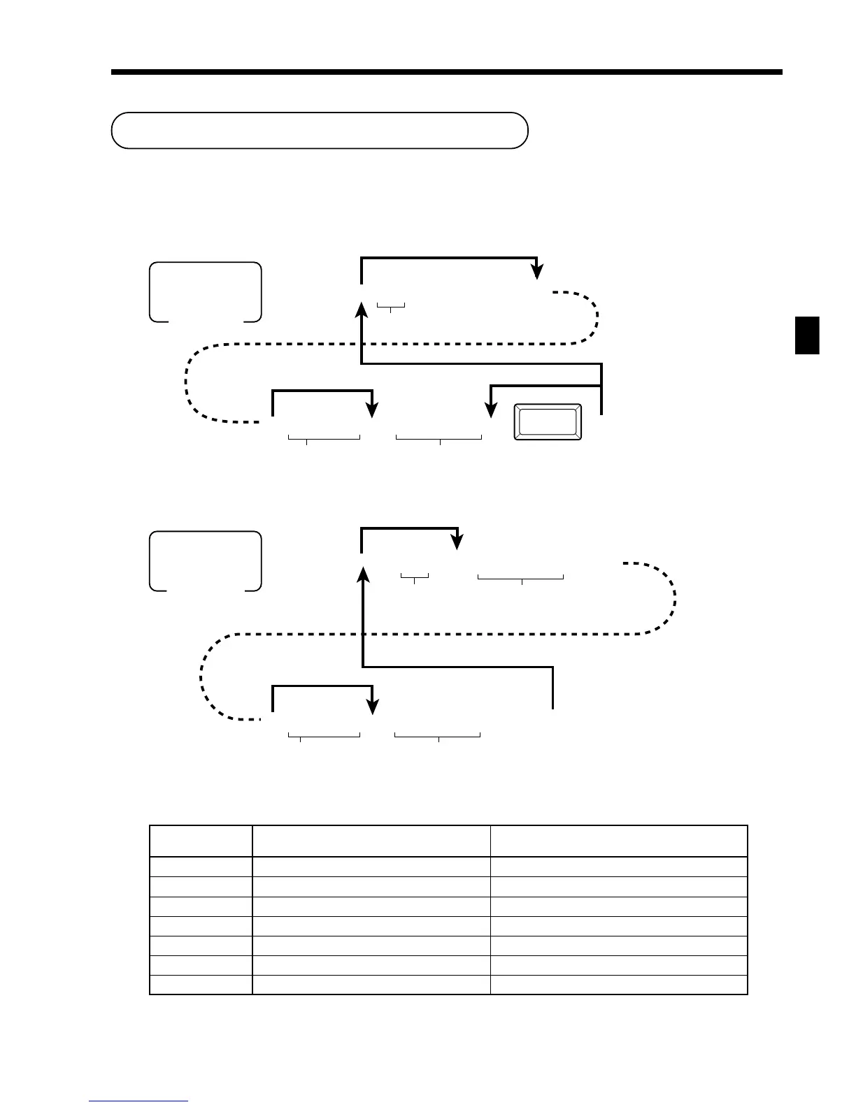
Key allocation (Program 4)
Key allocation program
Programming procedure
By pressing the appropriate key
By entering physical key code
Menu sheet number
Menu sheet
Description Description
number (for transaction key) (for Dept/flat-PLU)
0 or skip entering Set a function to the 1st ~ 6th menu sheets. Set a function to the programmed menu sheet.
1 Set a function to the 1st menu sheet. Set a function to the 1st menu sheet.
2 Set a function to the 2nd menu sheet. Set a function to the 2nd menu sheet.
3 Set a function to the 3rd menu sheet. Set a function to the 3rd menu sheet.
4 Set a function to the 4th menu sheet. Set a function to the 4th menu sheet.
5 Set a function to the 5th menu sheet. Set a function to the 5th menu sheet.
6 Set a function to the 6th menu sheet. Set a function to the 6th menu sheet.
6 4s6 :000s6
6 ::6 :::66s
6 4s 6 : 6 :::s 6
6
::6 :::6 a 6 s
PGM
Mode switch
PGM
Mode switch
See Menu sheet No. section
Menu sheet number
This step can be
skipped for
transaction key.
to other key
• Record No. (department/transaction)
• Random code or record No. (flat-PLU)
• Function code
Appropriate key
(white key on the next page)
#-nn
This step can be
skipped for
transaction key.
to other key
• Record No. (department/transaction)
• Random code or record No. (flat-PLU)
• Function code
See Menu sheet No. section
Menu sheet number
Physical key code
(see the next page.)
~
~
Set the same function

Table of Contents

Other manuals for Casio TE-2200

Related product manuals