EasyManua.ls Logo

Certikin MB35S - Fault Codes and Indicators; Fault Code Explanations

Default Icon
36 pages
Print Icon
To Next Page IconTo Next Page
To Next Page IconTo Next Page
To Previous Page IconTo Previous Page
To Previous Page IconTo Previous Page
Loading...
Condensing Pool Heater Genie S
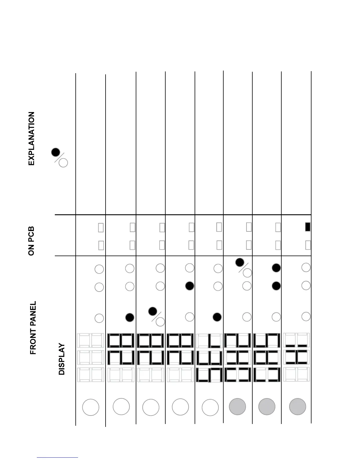
Fault Codes
24
LOCK / RESET
GREEN
YELLOW
RED
LED1
RED
RED
LED2
Operating, raising pool temperature to 28°C
Up to temperature, 28°C
Insuffi cient water pressure. Filter?, Blockage?
‘OH2’ Flue gas over temperature. Allow to
cool then investigate in Engineering Mode.
Reset with Button
‘GAS’ Gas Control Lockout. Unable to light
burner, reset with Button. OR Flue Stat tripped.
Investigate cause. Reset on Flue Stat
OFF, no mains supply or failed power supply
Flashing
‘HI’ Condensate level high. Blocked? Clear
obstruction and allow control to auto reset .
‘SEr alternating with pool temperature. Service
required, working hours has reached setpoint.