EasyManua.ls Logo

CleaverBrooks CFC ClearFire - Gas Header Piping

CleaverBrooks CFC ClearFire
70 pages
Print Icon
To Next Page IconTo Next Page
To Next Page IconTo Next Page
To Previous Page IconTo Previous Page
To Previous Page IconTo Previous Page
Loading...
Model CFC ClearFire Commercial Boilers
34 Rev. 05-2012
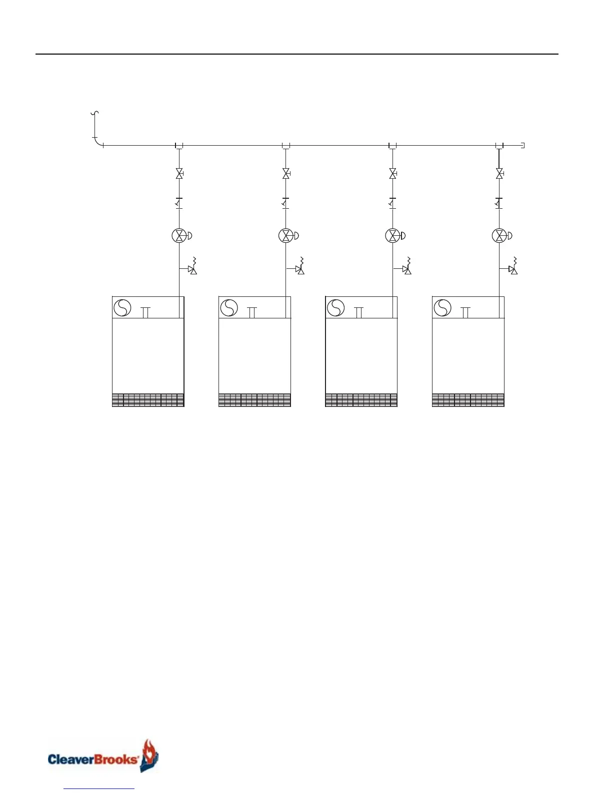
Figure B5-27. Gas Header Piping
Model
CFC
Regulator
Model
CFC
Model
CFC
Model
CFC
Header Pipe
Meter
From
Gas Header Piping, Typical
Gas Strainer
Relief Valve
See Note 5
Manual Shut Off
See Note 1
NOTES:
1. Dedicated gas pressure regulator required for each boiler.
2. Refer to local fuel gas codes when applicable.
3. Header to be sized for room capacity.
4. Provision required for measuring gas supply pressure at boiler.
5. Relief valve required if gas supply pressure >1 psig.

Table of Contents

Related product manuals