EasyManua.ls Logo

Compal NBLB2 - CD-Rom;DVD Troubleshooting; Crt Troubleshooting

Compal NBLB2
152 pages
Print Icon
To Next Page IconTo Next Page
To Next Page IconTo Next Page
To Previous Page IconTo Previous Page
To Previous Page IconTo Previous Page
Loading...
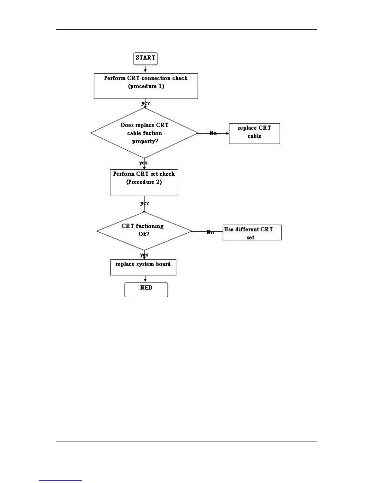
7. CRT troubleshooting
Figure 6-6 CRT troubleshooting process

Table of Contents

Related product manuals