EasyManua.ls Logo

CPS SCA Series - Page 146

Default Icon
164 pages
Print Icon
To Next Page IconTo Next Page
To Next Page IconTo Next Page
To Previous Page IconTo Previous Page
To Previous Page IconTo Previous Page
Loading...
138
1
5
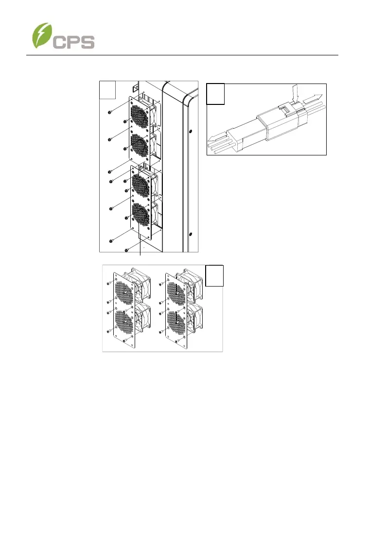
Figure 8-1 Replacing Cooling Fans
2
3

Table of Contents

Related product manuals