EasyManua.ls Logo

Cray CRAY-1 - Basic Computer System

Default Icon
216 pages
Print Icon
To Next Page IconTo Next Page
To Next Page IconTo Next Page
To Previous Page IconTo Previous Page
To Previous Page IconTo Previous Page
Loading...
I
r---
- - -
---
-
---
--
--
-
--
--
----
- -
---
- -
--1
I
I
I
L
______
_
/
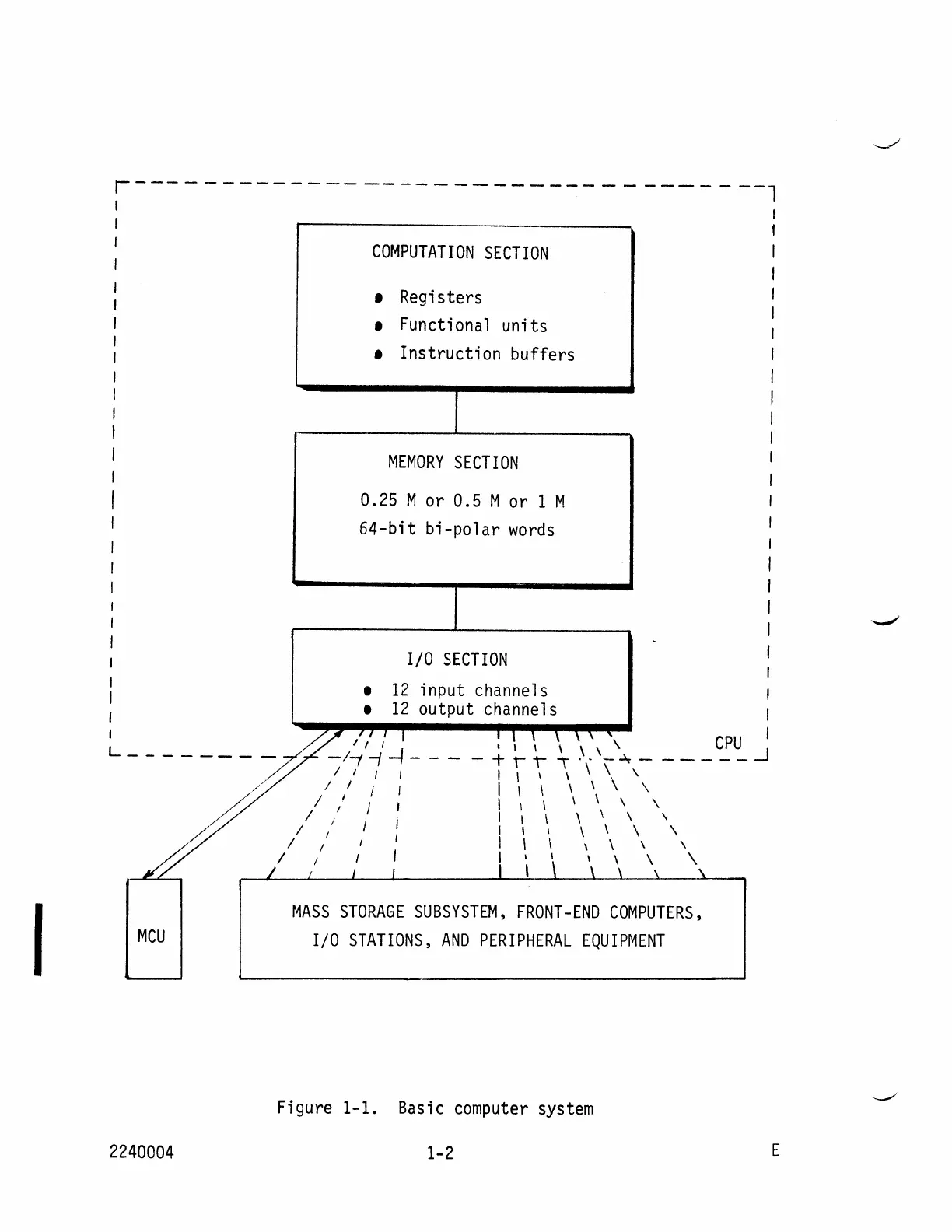
MCU
2240004
-
'"
COMPUTATION
SECTION
Registers
Functional
units
Instruction buffers
MEMORY
SECTION
0.25 M or 0.5 M or 1 M
64-bit
bi-polar
words
I/O
SECTION
12
input channels
12
output channels
I
I
/,'''
I
I , \ , \ \
'\
-1-1
-f
-i
- - -
I I \ \ \ \
-+Ir-\"-~
CPU
I
______
..J
I I
I
I
/
I
/ I I
/ I
1 I
/ / I
/ I I
I
I
i
I
I
I
I
I \ \ \ \ \
I \ \ \ \ \
\
I \ \
I , \
I , \
I \ \
\ \ \
\
\
\ \ \ \
\
'.
\ \
\ \ \ \
\ \ \ \
L I J I
I , \
\ \ \
\.
MASS
STORAGE
SUBSYSTEM,
FRONT-END
COMPUTERS,
I/O
STATIONS,
AND
PERIPHERAL
EQUIPMENT
Figure 1-1. Basic
computer
system
1-2
E

Table of Contents